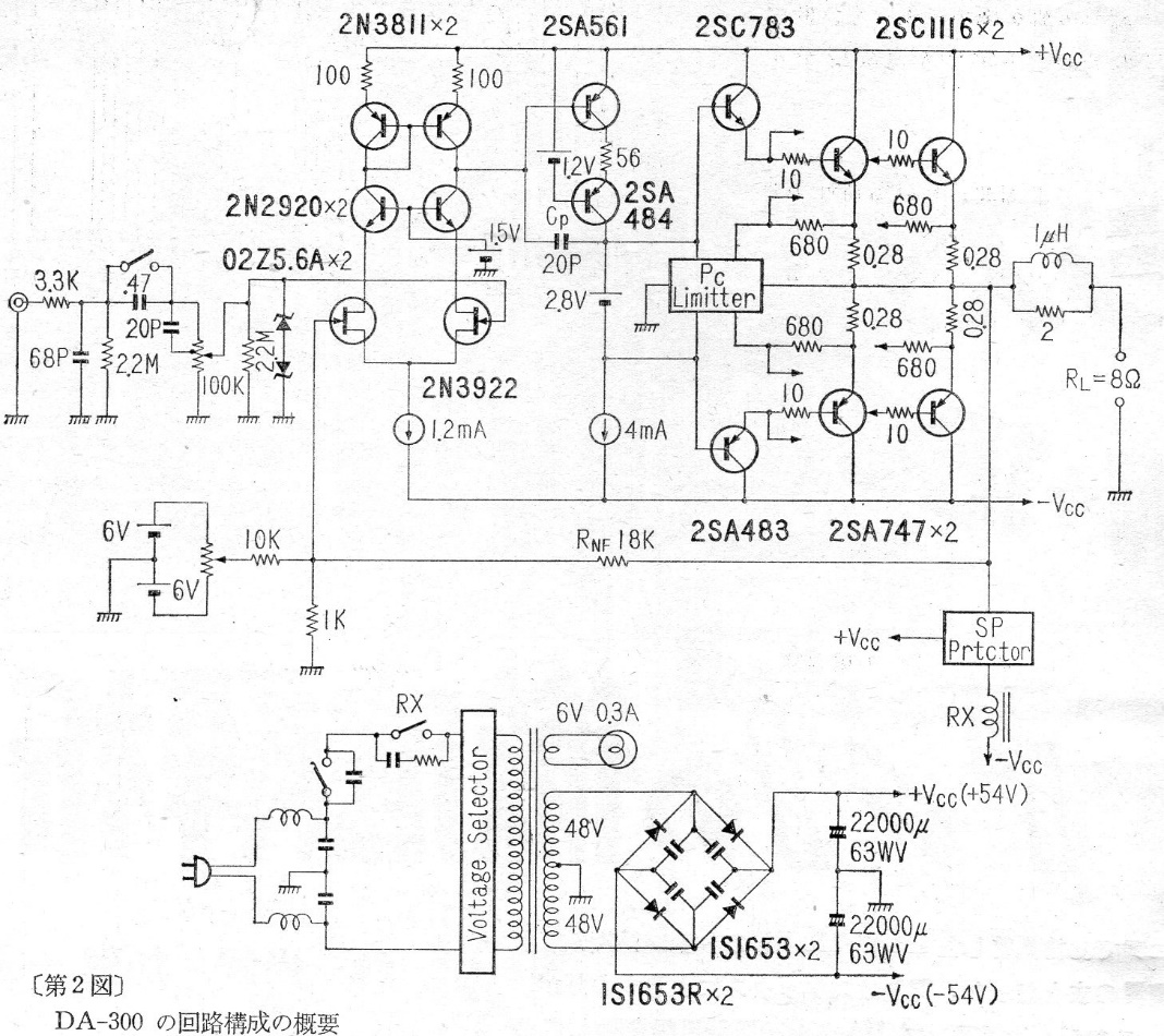
Este amplificador de alta potencia con transistores japoneses de los años 70 proporciona una potencia de salida de 150 W (4 ohms) y tiene una excelente curva de respuesta. El circuito es de una publicación de la época, incluida la fuente de alimentación. Los transistores de potencia deben estar equipados con excelentes disipadores de calor. El circuito es de un amplificador comercial.




