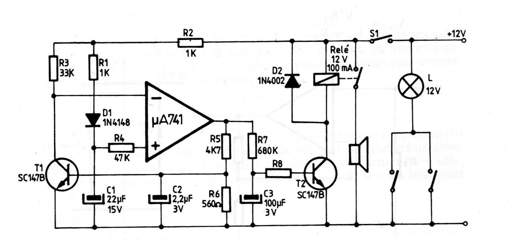
Este circuito detecta la pequeña variación en la tensión de la batería del automóvil que se produce cuando se abre la puerta y se encienden las luces de cortesía. Por supuesto, esta función debe estar activada para que funcione la alarma y, en el caso de los LED de baja potencia, la configuración es más crítica. El circuito es de documentación europea de los años 90. Los transistores pueden ser BC547 o BC548.




