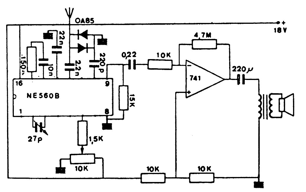
El primer circuito integrado de este receptor, un PLL de los años 90, ya no se encuentra fácilmente en el mercado. El circuito es de una documentación de los años 90 y su principal característica es la no utilización de bobinas. El transformador de salida es del tipo que se encuentra en las radios de transistores antiguas.




