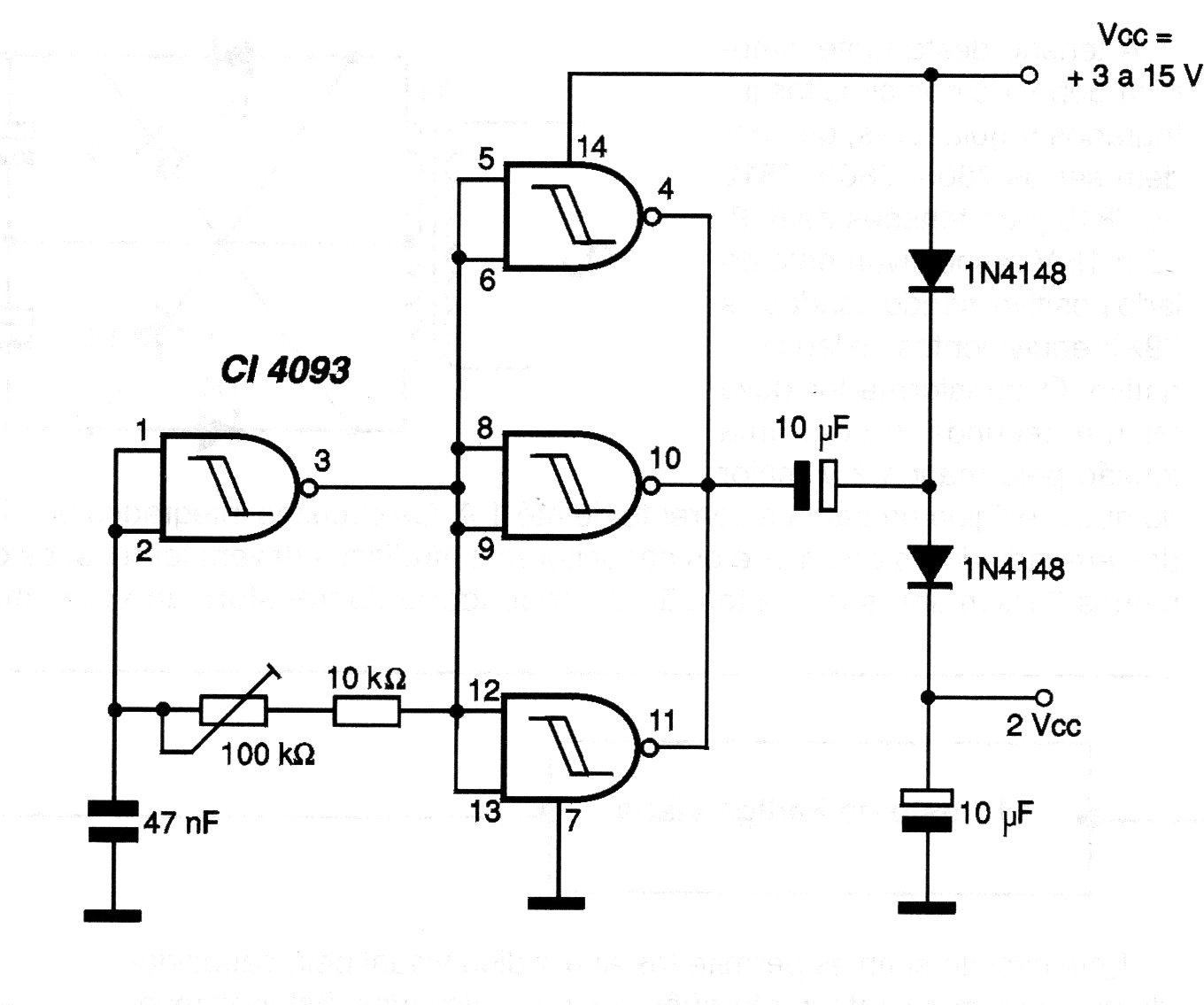
Este circuito, de una documentación de 2001, aparece en otra parte de este sitio. Su propósito es obtener una tensión continua que sea el doble de la tensión de entrada. La corriente es demasiado baja, lo que limita las aplicaciones del circuito a la polarización. El circuito opera con tensión de entrada de 3 a 15 V.




