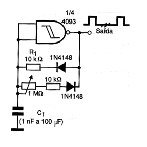
Con el circuito de la figura es posible generar pulsos cuya duración es dada por R1 y separación ajustada en el trimpot de 1 M ohms. El capacitor C puede tener valores entre 100 pF y 1000 ?F y la frecuencia máxima de operación para una alimentación de 12 V es del orden de 2 MHz. La alimentación se puede hacer con tensiones de 5 a 12 V, y la forma de onda del mismo, La señal de salida es rectangular.




