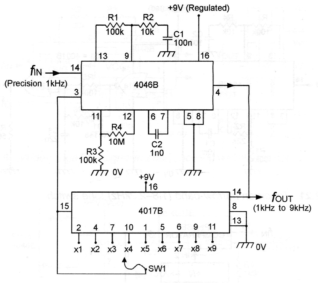
Este circuito puede sintetizar frecuencias en un rango de 1 a 9 kHz con una entrada de 1 kHz. Se pueden utilizar otras frecuencias de entrada, siempre que la salida no supere 1 MHz. El circuito puede funcionar como un escudo multiplicador de frecuencia para microcontroladores cuando se aloja por 5 V. La señal de salida es rectangular.




