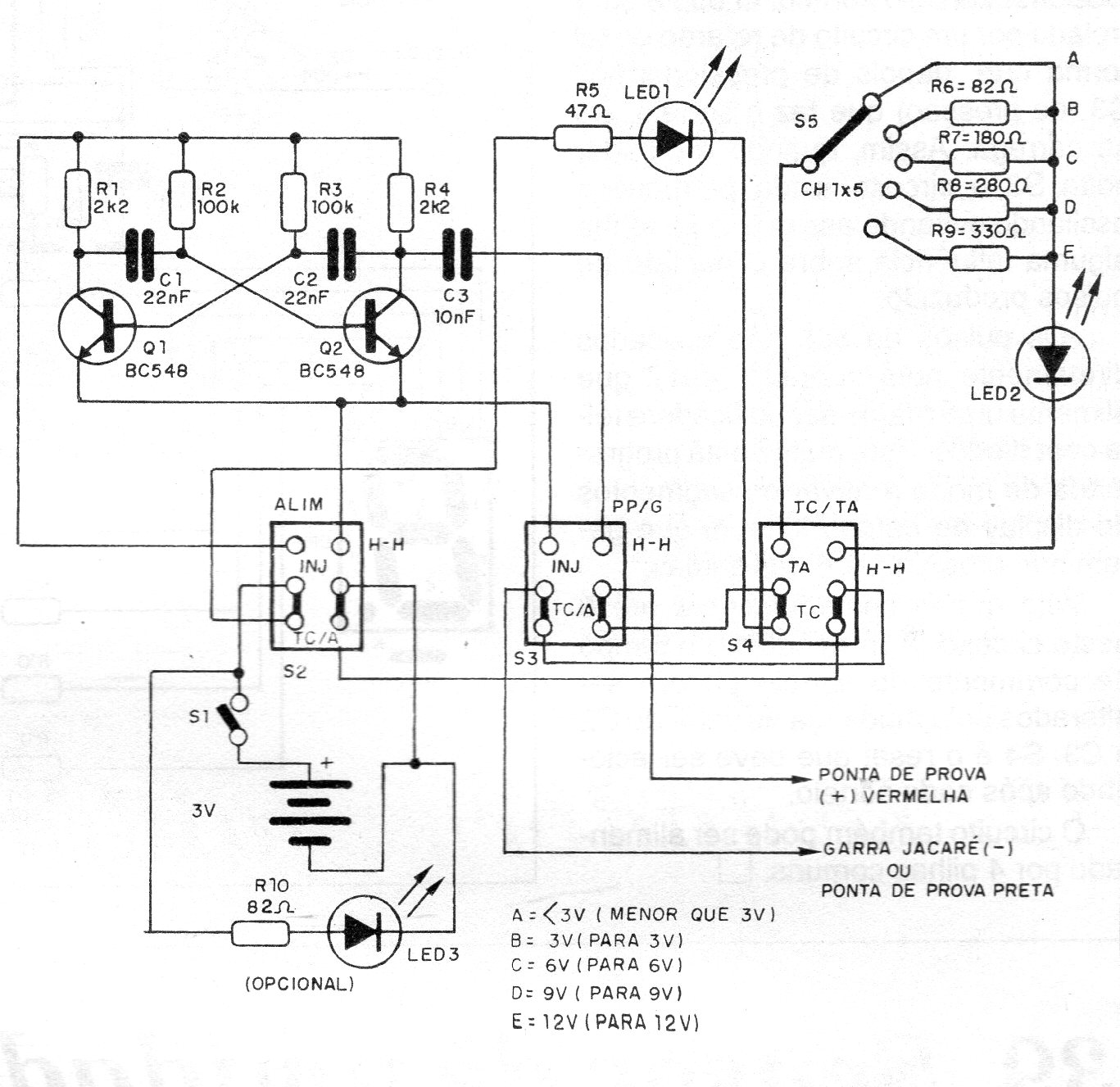
Este circuito de probador de circuitos y componentes fue encontrado en una documentación de 1992. Se trata de un inyector de señales, probador de continuidad y también en una prueba de alimentación. Los componentes utilizados en el montaje son comunes y fáciles de encontrar.




