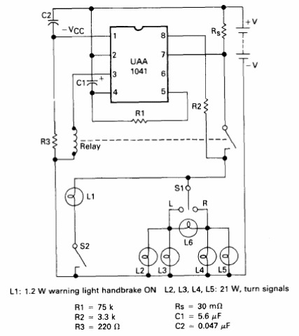
Esta flecha para automóvil fue encontrada en el Linear Databook de la Motorola de 1990. El circuito es para lámparas, y los valores de los componentes se dan abajo.

Esta flecha para automóvil fue encontrada en el Linear Databook de la Motorola de 1990. El circuito es para lámparas, y los valores de los componentes se dan abajo.
