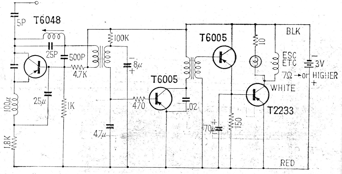
Este circuito sensible para el rango de 27 MHz se encontró en una documentación japonesa de 1962. El circuito utiliza transistores de la época y el rango de operación es de 27MHz. No se dan detalles de las bobinas que se pueden calcular. El circuito acciona directamente un relé en un sistema modulado en tono.




