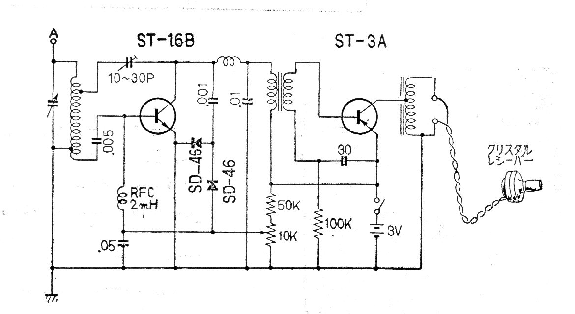
El receptor comercial MT2B fabricado en Japón en los años 60 tenía escucha sólo en auricular y era alimentado por dos pilas pequeñas o 3 V. El circuito utiliza algunos componentes difíciles y la bobina tiene 10 + 80 + 10 espiras de cable 32 en bastón de ferrita o, cerca de eso.




