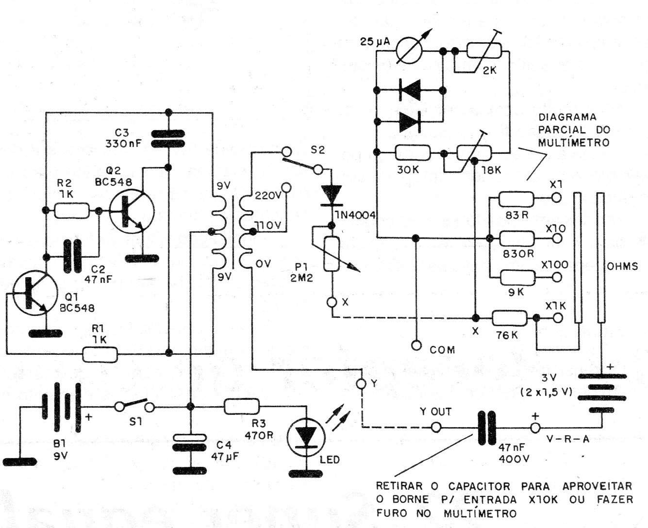
Con este circuito es posible adaptar la entrada de un multímetro analógico común posibilitando la medida de resistencias hasta 200 M ohms. El circuito consiste en un pequeño inversor que se basa en un transformador de 110/220 V con 9 V x 250 mA de secundario. El circuito es de una publicación de 1989.




