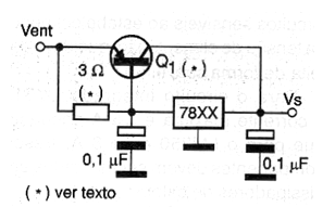
El bloque presentado en la figura, si bien es conocido por muchos lectores, no siempre está en la memoria de cada uno de forma completa. Con él es posible obtener corriente mayor que 1 A de cualquier regulador de la serie 78XX, dependiendo sólo del transistor empleado. Para un TIP42, por ejemplo, podemos llegar fácilmente a los 3 A, siempre que sea montado en buen radiador de calor. El resistor de 3 ohmios determina la corriente en el regulador, que debe quedar en torno a 0,2 A. Eventualmente debe ser disminuido ese valor para obtener una excitación mayor de un transistor de menor ganancia y mayor corriente de salida. El circuito regulador de tensión también debe montarse en un radiador de calor. Los circuitos integrados de la serie, entre el 7805 y el 7824 se pueden utilizar, siempre recordando que la tensión de entrada debe ser por lo menos 2 V mayor que la tensión deseada en la salida.




