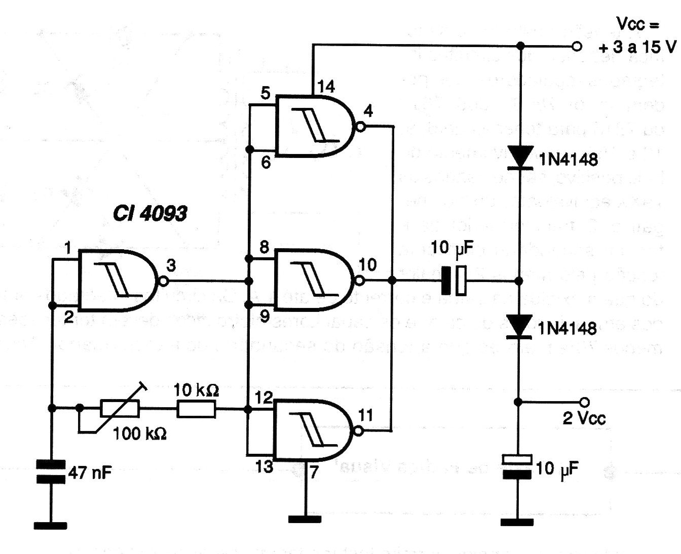
Este doblador de tensiones es indicado para aplicaciones en las que se necesita una tensión igual al doble de la aplicada en la entrada, pero régimen de muy baja corriente (para polarización solamente). La corriente de salida se limita a unos pocos microampères. El ajuste del punto de mejor rendimiento se realiza en el trimpot de 100 k ohms. El capacitor determina la frecuencia del circuito, pudiendo ser alterado conforme a la aplicación. Con la utilización de una etapa de potencia transistorizada en la salida del oscilador es posible elevar la capacidad de corriente de este doblador. Podemos utilizar un Power-FET o incluso un bipolar como el BD135 que, por supuesto, debe ser montado en radiador de calor.




