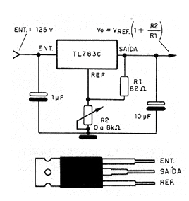
El circuito integrado en cuestión es un regulador ajustable de alta tensión de Texas Instruments suministrado en envoltorio TO-220, como muestra la figura. En la misma figura tenemos un circuito típico de aplicación de este componente cuyas características son las siguientes:
Características:
* Tensión máxima entre la entrada y salida: 125 V
* Disipación máxima: 20 W
* Corriente máxima de salida: 700 mA
* Tensión de referencia: 1,27 V (tip)
* Corriente mínima de salida: 15 mA




