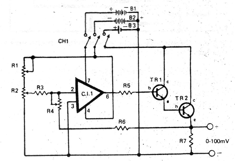
Esta interesante fuente de tensión muy baja para referencia encuentra aplicaciones en el laboratorio de instrumentación para calibrado y referencia. El circuito es de una publicación de los años 70 y los transistores usados admite equivalentes modernos como el BC548 para Q1 y BC135 para Q2.




