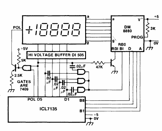
Este circuito es del Intersil Databook de 1983. El display es de plasma debiendo ser excitado por un circuito de alta tensión. Los componentes utilizados en esta configuración no son muy comunes actualmente.

Este circuito es del Intersil Databook de 1983. El display es de plasma debiendo ser excitado por un circuito de alta tensión. Los componentes utilizados en esta configuración no son muy comunes actualmente.
