Para aplicaciones en las que el aislamiento de la red de energía no es importante, se puede ahorrar el transformador, que es un componente caro, pesado y voluminoso. Tenemos en este sitio diversos circuitos e incluso cálculos y simulaciones envolviendo este tipo de fuente. El proyecto descrito es de nuestro libro Fuentes de Alimentación (*).
(*) Breve en español
En el lugar del tradicional transformador se aprovecha la reactancia capacitiva de un capacitor de poliéster de buena calidad para hacer la reducción de la tensión de la red de energía. El diseño que presentamos puede operar tanto en la red de 110 V como 220 V y proporciona una corriente de hasta 20 mA. La tensión de salida depende únicamente del diodo zener utilizado, quedando entre 3 V y 12 V. Tensiones menores pueden ser obtenidas con una referencia formada por diodos comunes, como muestra la figura 1.

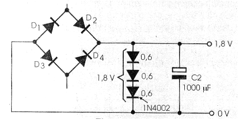
Cada diodo proporciona una tensión del orden de 0,6 V cuando se utiliza como referencia. Así, para 2,4 V basta utilizar 4 diodos en serie. Un LED también se puede utilizar como referencia de 1,6 V para los tipos rojos. Para los tipos amarillos y verdes la referencia será de 1,8 V y 2,1 V como muestra la figura 2.

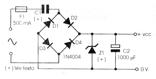
Evidentemente, como se trata de una fuente que no está aislada de la red de energía, no debe tener partes expuestas ni los aparatos que van a ser alimentados. Pequeñas radios, calculadoras, relojes son algunos de los aparatos que pueden ser alimentados por esta fuente. En la figura 3 tenemos el diagrama completo de la simple fuente.

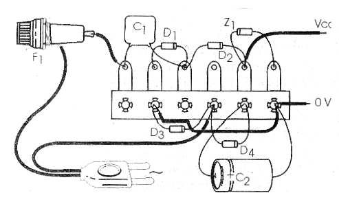
Su montaje no requiere más que un pequeño puente de terminales para servir de soporte para los componentes, como muestra la figura 4.

Es claro que si el lector tiene recursos para elaborar placas de circuito impreso, puede utilizar el estándar de la figura 5 como referencia.

El componente crítico de este proyecto es el capacitor que debe tener valores y tensiones de trabajo conforme a la siguiente tabla. Se debe utilizar un capacitor de poliéster de buena calidad:
| Tensión de Entrada | Corriente Máxima de Salida | Capacitor (tensión mínima) |
| 110/120 V | 15 mA | 390 nF x 200 V |
| 110/120 V | 20 mA | 470 nF x 200 V |
| 110/120 V | 30 mA | 1 uF x 200 V |
| 220/240 V | 15 mA | 220 nF x 400 V |
| 220/240 V | 20 mA | 270 nF x 400 V |
| 220/240 V | 30 mA | 470 nF x 400 V |
El fusible de entrada es importante para proteger el circuito, ya que si el capacitor entra en corto, es necesario que la alimentación se apague inmediatamente.
El capacitor electrolítico debe tener una tensión de trabajo un poco mayor que la deseada en la salida. Por ejemplo, para una salida de 6 V, utilice un capacitor de 12 V o 16 V. El circuito cabe en una pequeña caja del tipo eliminador de pila enchufable en la propia red desde cualquier toma común.
D1 a D4 - 1N4004 - diodos de silicio
C1 - Capacitor de poliéster - ver tabla y texto
Z1 - Zener de 3 a 12 V x 1 W - según la tensión de salida deseada
C1 - 1 000 uF - capacitor electrolítico - ver el texto
F1 - 500 mA - fusible
Varios:
Puente de terminales o placa de circuito impreso, cable de fuerza, soporte de fusible, hilos, soldadura, caja para montaje, etc.



