Nada peor que intentar arrancar en el coche después de un largo período de parada (después de un viaje en el que el coche se ha quedado en el garaje) y no hay señal de funcionamiento. Vea en este artículo cómo montar un simple cargador para ser utilizado en situaciones de emergencia y que también sirve para cargar baterías plomo-ácido para otras aplicaciones.
Para el caso de baterías automotrices descargadas, cuando el coche no arranca, la solución más adoptada es la popularmente llamada "chupete" que consiste en aprovechar la batería de otro coche o de una batería que ha sido traída con carga total y que se conectará sólo por el tiempo suficiente para dar el arranque, como muestra la figura 1.

Sin embargo, si no hay coche o batería cercana el problema se complica.
Si el lector puede esperar unas horas antes de intentar un nuevo arranque, la solución puede estar en un cargador de emergencia. En la figura 2 tenemos el diagrama de un cargador que, conectado a la batería, permite que la partida se dé después de 2 a 3 horas de funcionamiento.

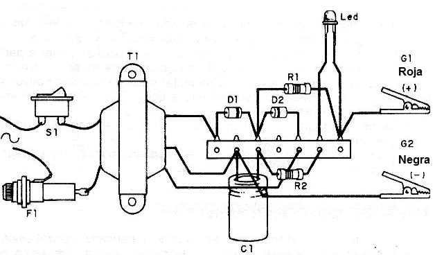
El montaje de este cargador se muestra en la figura 3.

El resistor R1 determina la corriente de carga y debe calentarse bastante durante el funcionamiento, pero esto será perfectamente normal. El transformador debe tener un enrollamiento secundario de 12 + 12 V con al menos 3A de corriente y primario de acuerdo con la red local de energía. Para utilizar el aparato, se debe desconectar el polo positivo de la batería del coche (para que la tensión del motor, cargador no afecte a los equipos conectados del coche). El modo de hacerlo se muestra en la figura 4.

Observe que los cables de conexión a la batería son gruesos y tienen en sus extremidades garras que se adaptan a los topes de los polos de la batería. El aparato debe conectarse al menos 2 horas para intentar el arranque. El lector debe comprobar si la solución de la batería está en el nivel correcto. Si, después del tiempo previsto, al intentar dar la salida no hay señal alguna es porque la batería no está reteniendo la carga y, por lo tanto, el cargador no va a solucionar el problema. Para una carga más completa, el aparato puede dejarse en funcionamiento de un día para otro. Sólo las baterías de 12V de coche y de motos se pueden cargar con este aparato.
Semiconductores:
D1, D2 - 1N5404 - diodos de silicio
LED - LED rojo común
Reistores:
R1 - 10 ohms x 10 W - hilo
R2 - 2,2 k ohms x 1 / 2W
Capacitores:
C1 - 1 000 uF x 50V - electrolítico
Varios:
T1 - Transformador con primario según la red local (110 / 220V) y secundario de 12 + 12V con al menos 3A
S1 - Interruptor simple
F1 - 2A - fusible de entrada
G1, G2 - Garras roja y negra
Caja para montaje, soporte de fusible, hilos, soldadura, cable de alimentación, etc.



