Como hemos hecho en otras oportunidades, nos salimos aquí del tema básico de esta sección, para brindar/es algunas ideas que sabemos serán apreciadas por los modelistas (muy numerosos) que se dedican al ferromodelismo, o sea, a los tan difundidos trencitos eléctricos. De este extenso campo, nos dedicamos al uso de diodos y capacitores electrolíticos en una variedad de proyectos.
Los ferromodelistas conocen bien el uso de diodos en puentes rectificadores, pero existen otras aplicaciones sencillas, algunas conjugadas con capacitores electrolíticos, que son muy interesantes. Como estos materiales se consiguen con facilidad, los proyectos son accesibles a todos.
Los diodos conectados directamente a la carga deberán tener capacidad de corriente compatible. Los diodos que son conectados ala fuente de alimentación y alas vías deberán ser de capacidad mayor, para poder soportarlos cortocircuitos (se emplean diodos de 6A).
La tensión recomendada mínima está alrededor de 25V. Los electrolíticos deberán tener capacidad proporcional a la carga, dada por experimentación, quedando el orden de magnitud alrededor de 1000 µF por cada ampere de corriente de carga.
La tensión mínima de aislación es de 25V. Se debe cuidar que la polaridad de los electrolíticos sea observada para que estos no se dañen.
Los controles, generalmente, tienen una alimentación de 16V de CA para accesorios, donde son conectadas las lámparas, bobinas de desvíos, solenoides, motores estacionarios, etc.
Para las locomotoras y vagones iluminados, hay una alimentación con tensión variable, con interruptor. Antiguamente se usaban 18 VCA máximos, en motores universales, serie, fabricados por Lionel, American Flyer, etc., hoy todavía en uso.
La inversión del movimiento era manual, hecha a través de una llave inversora en la locomotora, o por otros sistemas semiautomáticos, operando por discontinuidad de corriente en la línea.
Todavía hoy (1988), HO-Maerklin usa un sistema de este tipo, siendo operado sin embargo por sobretensión momentánea. Actualmente, se usa 12 V máximos, por todos los fabricantes (salvo M Z-Maerklin/8VCC), con motores de imán permanente, semejantes a los usados en los autorama.
La inversión del movimiento se hace en el control, por simple inversión de polaridad. Está normalizado el empleo de la polaridad positiva en las medas derechas, para que la locomotora se mueva hacia adelante.
1. Reducción de tensión
Las lámparas, cuando se las alimenta bajo CA, podrán tener una vida mucho mas larga, si se conecta un diodo en serie, en cualquier polaridad. El brillo disminuirá ligeramente.
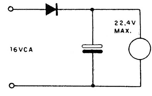
En media onda, la tensión eficaz será 0,7 veces el valor de la tensión de alimentación, lo que significa que lámparas de 12V serán alimentadas por 16 VCA (figura 1).

El diodo, ahora con reducción fija de la tensión, tiene la ventaja sobre la resistencia equivalente de no absorber prácticamente energía y mantener la tensión bajo todas las cargas admisibles.
Por eso, se puede conectar un diodo general para todas las lámparas, incluyendo interruptores. En los vagones iluminados con CA, evidentemente deberá haber un diodo por unidad.
2. Aumento de tensión
Agregando un electrolítico al circuito anterior, se aumenta la tensión eficaz a 1,4 veces el valor de la alimentación. En este caso máximo, la CC es plena, debido al hecho de que los electrolíticos se cargan por los picos.
Cuanto mayor sea la capacidad del electrolítico, en relación a la carga, la tensión más se aproxima a aquel valor máximo. Se puede usar en accesorios que necesiten mayor tensión que la fuente (figura 2).

Recordamos que la potencia de carga, en principio, será duplicada, pudiendo haber sobrecarga del transformador.
Este sistema puede emplearse en locomotoras que disminuyen la velocidad debido a mal contacto con los rieles. En las locomotoras de CA, el sistema puede estar en el control o en la propia locomotora. Debe ser desconectado, si lo hubiera, el relé del silbato que es de CC.
En las locomotoras de CC, el electrolítico solamente podrá estar en el control y después de la llave inversora. En caso quela llave fuera embutida en el control, deberá montarse otra, quedando la primera sin funcionar, a riesgo de dañar el electrolítico (figura 3).

3. Variación de tensión
Agregándose un potenciômetro, del orden de 30 ohm x 4W, al circuito anterior, se varia la tensión eficaz de 0,7 a 1,4V, o sea, en relación 112 (figura 4).

La tensión mínima es dada por la media onda y la máxima por la tensión plena. Se lo puede usar para accesorios y locomotoras en las condiciones de los puntos anteriores (figura 5).

(Ver el punto 10 - velocidades reducidas).
4. Estabilización de tensión
En vagones iluminados con CA 6 CC, se atenúa el efecto de guiñadas debidas a malos contactos en las ruedas, usando puente rectificador con electrolítico, recordando que la tensión eficaz es 1,4 x V (figura 6).

El sistema puede usarse solamente en locomotoras de CA, pues las do CC se mueven solo en un sentido, salvo si se monta una llave inversora para ellas.
5. Luces direccionales de las locomotoras
En locomotoras de CC, instalando un diodo en serie con la lámpara, la misma solo encenderá cuando hubiera movimiento en ese sentido (figura 7).

Agregando electrolíticos, después de los diodos, se obtiene mayor estabilidad de tensión que será de 1,4 x V.
6. Luces direccionales de panel
El sistema de CC, para visualizar el movimiento de la locomotora, se usan lámparas o LEDs (figura 8).

7. Reversión de locomotoras CA
Se pueden adaptar los motores de CA en CC, para simplicidad de la reversión, eliminándose el problema de los malos contactos, en las vías y los debilitamientos en el mecanismo de reversión (figura 9).

Se emplea una mente de CC y puente rectificador para bobina del campo.
La bobina siempre tendrá la misma polaridad, funcionando como un imán permanente. Otra alternativa es conectar el puente rectificador al rotor.
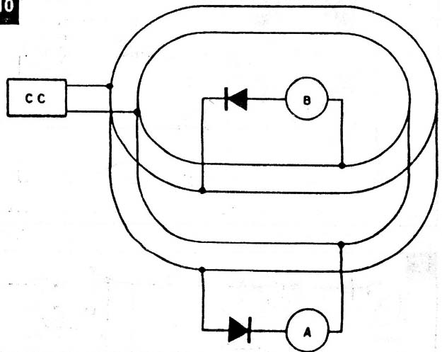
8. Dos locomotoras bajo un control
Dos locomotoras de CA o CC se mueven, por vez, en todas las líneas bajo un control, evitando el sistema de secciones aisladas, Se usa fuente de CC con llave inversora y diodos en las locomotoras, con uno de ellos invertido (Figura 10).

En las locomotoras de CA no hay problema de inversión de movimiento. Se debe desconectar, si lo hubiera, el silbato de CC. En las locomotoras de CC solo habrá movimiento en un sentido, salvo que se agreguen llaves de inversión.
Si se deseara que una locomotora de CC se mueva en sentido inverso continuamente, hay que invertir las conexiones del motor, sin alterar la posición del diodo. Si se invierte la posición física de una locomotora de CC, ambas se moverán bajo el mismo control, lo que impide a la línea tener triángulos, salvo que se usara llave inversora en la locomotora.
Cuando no se usa este sistema, basta jumpear los diodos.
9. Dos locomotoras bajo dos controles
Basado en el sistema anterior, en que dos locomotoras se mueven independientemente, se emplea una fuente de CC con dos diodos, en que los semiciclos positivos de la tensión ajustable alimentan una locomotora, mientras los semiciclos negativos alimentan la otra locomotora (figura 11).

Para las locomotoras de CA se usa el control doble o dos controles separados, pero deben estar conectados en fase por el primario, pues una locomotora no funcionará (figura 12).

Para locomotoras de CC se usan dos potenciómetros de 30 Ω x 4W (figura 13).

En ambos casos, la tensión eficaz es 0,7 x V, pero pueden agregarse electrolíticos en las locomotoras. Las demás características son iguales al sistema anterior.
En vez de la segunda locomotora de CA ò CC, se puede usar un control para los vagones iluminados, con diodos. Empleando red aérea y aplicando también este sistema, se obtienen 4 locomotoras independientes (Sistema Detroit).
10. Velocidad reducida
Los motores de CA y CC, en velocidad reducida, son inestables, debido al bajo torque. Hay varios sistemas transistorizados que se basan en la generación de pulsos bien espaciados, pero con gran tensión.
Sin embargo, hay zumbidos y calentamientos en los motores debido a la gran corriente, considerada prácticamente como de partida, o sea, solamente corriente directa, sin fuerza contra-electromotriz.
Se agrava el problema con carga pesada, como exceso de vagones y subidas. Por lo tanto, se debe aplicar por poco tiempo.
Un proceso simple, pero no tan eficiente como los de pulso, es el empleo de media onda. En las locomotoras de CA el control tiene un diodo único, con interruptor para el jumper. En locomotoras de CC basta conectar cualquier diodo del puente rectificador (figura 14).

El variador de tensión (punto 3) es también una posible solución. Otro sistema, es con electrolítico y potenciômetro de 300 ohm x W alimentados por CC de media onda u onda completa. Variando el potenciômetro se cortocircuita el electrolítico.
11. Reversión de accesorios
Se puede emplear solamente dos conductores como simplificación en conexiones giratorias y deslizantes, por uso de CC (figura 15).

Si la alimentación fuera en CA, funcionarán ambos accesorios.
12. Accionamiento de desvíos
Si mantuviéramos una corriente por largo tiempo sobre la bobina de desvío habrá recalentamiento y se quemará.
Lo mismo ocurrirá si el transformador fuera de pequeña potencia, durante el accionamiento habrá una caída exagerada de tensión. Estos problemas se evitan con el disparo del electrolítico, pues E = œ CV2 (figura 16).

La carga, que dura pocos segundos, deja el electrolítico con tensión de 1,4 x V.
Accionando una bobina, habrá una descarga rápida, y al fin, la tensión será baja, limitada por la resistencia. Tiene la ventaja de que se puede visualizar la carga.
Cuando la luz se apaga el electrolítico está apto para funcionar de nuevo.
Se pueden alimentar varios desvíos por un único conjunto de estos, pero accionados uno por vez, salvo si se usaran electrolíticos mayores. En ciertas circunstancias, como operar el desvío conjugado a una sección aislada, será necesaria una llave de reversión de dos secciones.
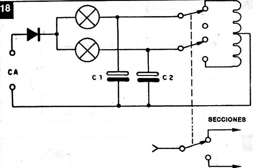
Mientras tanto, será imposible un nuevo accionamiento del desvío, ya que el electrolítico estará todavía descargado. En este caso se agrega una botonera, a ser colocada después de la posición de la llave (figura 17).

Otra alternativa sin botonera, es usar dos electrolíticos con llave triple. Un electrolítico está siempre cargado. Las lámparas podrán servir como señales verdes o indicadores en el panel (figura 18).

13. Desvíos conjugados
En patios de maniobras, el comando de cada desvío será lento y facilitará los errores. Se puede emplear una llave selectora de una sección con diodos, para operar un grupo de desvíos (figura 19).

Los diodos, aquí, impiden el retomo de la corriente indeseable, como se ve para la bobina común A curva. Este sistema puede ser conjugado como el del punto anterior.
De esta manera se pueden hacer una infinidad de desvíos. Las bobinas que reciben más de una alimentación deberán tener un diodo por ramal.
14. Señales conjugadas
Basado en el punto anterior, con la llave al centro, tendremos ambos aspectos (figura 20).

En trazados elabora- dos se pueden usar naves selectoras de 3 secciones:
1a. sección - secciones aisladas
2a. sección - desvíos
3a. sección - señales
De este modo, sincronizado, se obtienen seguridad y rapidez en las operaciones.
A continuación presentamos aplicaciones de diodos junto a los rieles, usados solamente para locomotoras de CC. Los rieles deberán ser aislados y los diodos soldados directamente.
15. Fin de línea
Se evita el choque contra el batiente (circuito trampa). Para la salida de la locomotora, basta invertir la polaridad en el control (Figura 21).

16. Reducción en declive
Evita el exceso de velocidad, por reducción en la tensión de la línea, por medio de potenciômetro en serie de 30 ohm x 4W, ajustado. En la subida el potenciômetro queda puenteado (figura 22).

17. Detención controlada
Cualquiera sea el sentido del tren, la locomotora para después de la estación, centrando los vagones. La locomotora pasa por la primera sección aislada y para en la segunda, hasta cerrarse el interruptor (figura 23)

18. Triangulo
Evite el uso de una segunda llave inversora, con el agregado de 4 diodos (figura 24).

Las secciones entre los 4 diodos siempre tendrán la misma polaridad.
Mientras tanto, la locomotora deberá siempre moverse en los sentidos indicados.
Los aislamientos indicados en las vías intermediarias garantizan una parada obligatoria, evitando un cortocircuito por las medas, al alcanzar 1a salida dela sección aislada.
Este sistema se aplica cualquier otro tipo de línea con reversa.
(Publicado originalmente en 1988)



