Muchas personas poseen aparatos eléctricos o electrónicos alimentados por pilas o baterías de 9 V y les gustaría usarlos en el coche. Con el adaptador que describimos en este artículo es posible reducir la tensión de 12 V de la batería a valores entre 3 a 9 V, bajo corrientes de hasta 1,5 A, utilizando un único circuito integrado.
Los ventiladores, radios, grabadores, walkmans son sólo algunos de los aparatos alimentados por pilas que podrían usarse en el coche si se disponía de un adaptador capaz de reducir la tensión de 12 V de la batería.
Lo que describimos en este artículo es un reductor bastante simple, pues utiliza sólo un circuito integrado, y cuya salida puede ser ajustada para proporcionar cualquier tensión entre 3 a 12 V bajo corriente de hasta 1,5 A.
Montado en una pequeña caja plástica, será conectado al carro por un adaptador de encendedor de cigarrillos, y conectado al aparato alimentado por medio de enchufe apropiado, según el jack disponible.
Características:
Tensión de entrada: 13,2 (12) V - batería
Tensión de salida: 3, 6 ó 9 V (ajustable)
Corriente máxima de salida: 1,5 A
Regulación de línea: 0,01%
Regulación de carga: 0,1%
La base de este proyecto es el circuito integrado LM317T (Se puede usar el LM350 para corrientes hasta 3 A.), que consiste en un regulador de tensión ajustable y que puede proporcionar tensiones de salida de 1,2 a 37 V bajo corrientes de hasta 1,5 A.
La tensión de salida es fácilmente ajustada por el divisor conectado al terminal de ajuste.
En nuestro caso, solíamos simplemente un trimpot, que es ajustado por el usuario, con la ayuda de un multímetro, para obtener la tensión de salida deseada.
El LM317 tiene excelente regulación de la protección contra cortocircuito en la salida, lo que garantiza un buen rendimiento para los aparatos alimentados.
Los capacitores de filtro en la entrada y salida del circuito proporcionan un filtrado que evita que el ruido de la ignición y otros dispositivos del coche interfieran en el aparato alimentado.
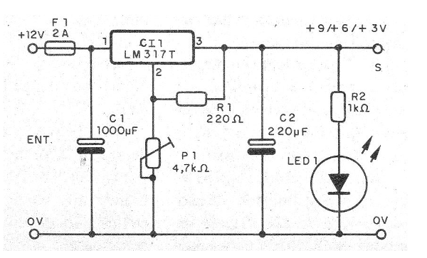
En la figura 1 tenemos el diagrama completo del adaptador.

La disposición de los componentes sobre la base de una pequeña en la placa de circuito impreso se muestra en la figura 2.

El circuito integrado debe estar dotado de un radiador de calor, ya que en la condición de corriente máxima debe calentarse.
Para mayor precisión del ajuste se podría utilizar un potenciómetro multi vueltas, pero en la aplicación normal, un trimpot común sirve.
Para la salida se debe utilizar cable polarizado con enchufe de acuerdo con el aparato alimentado.
Para probar el adaptador conecte una fuente de 12 V en la entrada del circuito y un multímetro, en la escala de tensiones c.c., en la salida.
Ajuste el trimpot P1 a la tensión deseada en la salida.
Después de eso es sólo usar el aparato, observando que, dependiendo del aparato alimentado, puede haber cambio en la polaridad del enchufe.
Semiconductores
Cl1 - LM317T - circuito integrado
LED1 - LED rojo común
Resistores (1/8 W, 5%):
R1, - 220 ohms
R2 - 1 k ohms
P1 - trimpot de 4,7 k ohms
Capacitores electrolíticos de 16 V:
C1-1 000 uF
C2 - 220 uF
Varios:
F1 - fusible de 2 A
Placa de circuito impreso, radiador de calor para el CI, caja para montaje, adaptador de encendedor de cigarrillos, soporte de fusible, hilos, soldadura, etc.



