Los capacitores son muy utilizados en montajes electrónicos. Sin embargo, muchas veces al intentar utilizar un capacitor aprovechado de un aparato fuera de uso, o que ha sido guardado por mucho tiempo podemos tener problemas: el capacitor no está bien. ¿Cómo probar los capacitores? Los multímetros hacen una prueba parcial que no siempre lleva a resultados correctos. Una forma de probar capacitores de 10 nF hasta 100 uF es con el circuito que presentamos en este artículo.
El circuito presentado, bastante simple, sirve para probar capacitores de todo tipo en el rango de 10 nF hasta 100 uF, proporcionando una indicación sonora. Se trata de un proyecto interesante para ser montado para la bancada y hasta con finalidades didácticas para entender cómo funciona el propio circuito y los capacitores. Una idea sería montar un capacitor experimental con hojas de aluminio y comprobar su valor con esta prueba.
La idea básica es muy simple: un oscilador cuya realimentación, y por lo tanto la frecuencia del sonido que va a ser producido, es determinada por un capacitor. Colocamos un buen capacitor en el circuito y funciona, haciendo que el altavoz pitar o emitir estallidos compasivos (dependiendo del valor). Si el capacitor está mal (abierto o en corto), no hay retroalimentación y no se emite ningún sonido.
Como la frecuencia del sonido depende del valor del capacitor, con un poco de entrenamiento y el uso de valores de capacitores conocidos, para comparación, podremos incluso determinar con cierta precisión de cuánto es el valor de un capacitor probado.
El circuito funciona con tensiones de 3 a 6 V (dos o cuatro pilas comunes) y es muy sencillo de montar.
Como funciona
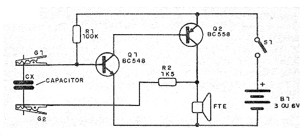
Como explicamos, se trata de un oscilador cuya frecuencia es determinada por el capacitor en prueba y también por el resistor R1, que controla la polarización del primer transistor.
En el caso de que la mayoría de las pruebas sean de capacitores de valores pequeños (10 nF a 100 nF) y que esté en el rango de 10 ka 56 k si las pruebas son de capacitores mayores (10 nF a 100 nF) 100 nF a 100 uF). Se puede incluso incluir una llave que conmute los dos valores de capacitores, según las pruebas.
Los transistores complementarios del oscilador proporcionan buena potencia al pequeño altavoz utilizado. Ver que el sonido será tanto más agudo cuanto menor sea el capacitor probado, si está bien.
Montaje
En la figura 1 tenemos el diagrama completo de la prueba de capacitores.

La figura 2 muestra el montaje en un puente de terminales, que es la versión ideal para principiantes. Es claro que los lectores con más características, pueden hacer el montaje en una placa de circuito impreso, o incluso en una matriz de contactos.

El circuito, con la fuente de alimentación y el altavoz se pueden alojar en una banda de plástico. Dos hilos con garras sirven para hacer la conexión del probador al capacitor en prueba.
También podemos utilizar un interruptor general para encender o apagar el aparato. Este componente puede ser eliminado, en cuyo caso para apagar el aparato, basta con retirar las pilas del soporte. Los resistores son d 1/8 W y los transistores admiten equivalentes.
Prueba y uso
Terminando el montaje, coloque las pilas en el soporte y conecte entre las garras de prueba un capacitor de cualquier tipo con valor entre 47 nF e100 nF. Debe haber la producción de sonido en el altavoz. Si esto ocurre, el aparato estará listo para su uso.
Para utilizar es sólo conectar entre las garras el capacitor en prueba. Debe haber la emisión de sonido. El sonido será tanto más agudo cuanto menor sea el valor del capacitor en prueba. Si tiene capacitores de valores conocidos, puede hacer la comparación de sonido: sonidos de tonalidades muy cercanas, teniendo en cuenta la tolerancia de los componentes, indican valores iguales.
Para los capacitores electrolíticos a partir de 1 uF, el sonido producido será en forma de chasquidos intervalados, cuya separación será tanto mayor cuanto mayor sea el valor del capacitor en prueba.
Q1 - BC548 o equivalente - transistores NPN de uso general.
Q2 - BC558 o equivalente - transistores PNP de uso general
FTE - 4 ó 8 ohms - Altavoz pequeño de 5 a 10 cm
B1 - 3 a 6 V - 2 o 4 pilas pequeñas
R1 - 100 k ohms x 1/8 W - resistor - marrón, negro, amarillo
R2 - 1,5 k ohms x 1/8 W - resistor - marrón, verde, rojo
Varios:
Puente de terminales, soporte de pilas, garras jacaré, caja para montaje, hilos, soldadura, etc.



