Uno de los problemas de los eliminadores de pilas comerciales de bajo costo es su baja calidad de filtrado y la no existencia de una regulación de tensión. Muchos equipos electrónicos más críticos, que no tienen regulación y filtrado interno, pueden presentar serios problemas de funcionamiento. Vea en este artículo cómo montar un excelente eliminador de 4 o 8 pilas pequeñas, medianas o grandes con excelente rendimiento de filtrado y regulación de tensión.
Los eliminadores de pilas que compramos en las casas especializadas poseen configuraciones bastante simples, sin regulación alguna y filtrado deficiente, como muestra la figura 1.

En estos circuitos, la tensión en abierto es mucho menor que la prevista para la salida (ya que el capacitor de filtro se carga con la tensión de pico del secundario del transformador), cayendo a un valor cercano al esperado cuando la carga es conectada.
Además de la no regulación de la tensión, que puede incluso afectar a algunos equipos alimentados, normalmente, por economía y pequeña disponibilidad de espacio interno, se utilizan capacitores de filtro pequeños, de valores insuficientes para proporcionar un buen filtrado.
Un tipo de equipo que siente mucho las deficiencias de los eliminadores comunes de pilas son los CD-players que pasan a presentar fuertes distorsiones en los sonidos graves o en los picos de audio cuando el volumen está abierto.
Si bien en algunos casos la conexión de un capacitor de valor mayor en paralelo con la salida puede minimizar o incluso eliminar este problema, la solución no es la ideal.
Otra aplicación interesante para este borrador de pilas es que puede mejor la calidad de sonido reemplazando las pilas de los cuadros multimedia de los ordenadores que no alimentados por el propio ordenador.
Lo que proponemos en este artículo es una fuente un poco más sofisticada, con regulación de tensión por circuito integrado, con protección térmica y contra cortocircuitos, y que por ello se presta mucho mejor a la alimentación de aparatos sensibles que puedan tener su desempeño afectado por una fuente común de mala calidad.
El borrador propuesto puede funcionar con aparatos de 4 o 8 pilas (pequeñas, medianas o grandes), con una corriente máxima de salida de 1 amperio.
COMO FUNCIONA
En nuestro proyecto, el transformador baja la tensión de la red a un valor que puede ser utilizado por el circuito integrado en función de la tensión deseada en la salida. El transformador debe tener una tensión por lo menos unos 2 V mayor que la tensión deseada en la salida y una corriente del mismo orden que la prevista para el aparato que va a ser alimentado o mayor. El máximo para el circuito integrado sugerido es 1 amperio.
Así, para una fuente de 6 V podremos utilizar un transformador de 7,5 + 7,5 V o 9 + 9 V de secundario y para una fuente de 12 V un transformador con 15 + 15 V de secundario.
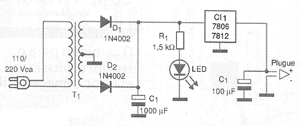
Después de rectificada por los diodos, la baja tensión continua obtenida es filtrada por el primer capacitor (C1) y aplicada a la entrada de un circuito integrado estabilizador de tensión.
El tipo de circuito integrado elegido determinará la tensión de salida. Para 6 V usamos el 7806 y para 12V usamos el 7812. Existen versiones de tensiones intermedias que eventualmente pueden ser usadas.
Este circuito integrado, además de excelente regulación de tensión posee un sistema de protección térmica y protección contra cortocircuito en la salida que lo deshabilita evitando su quema.
Un capacitor adicional conectado a la salida del circuito proporciona el desacoplamiento de la fuente del aparato que está siendo alimentado. Para las aplicaciones normales ese capacitor es de 10 uF, pero el lector debe mirar cuando comprar el CI para que sea del tipo tradicional. Existen tipos más modernos con sufijos junto al tipo que indican que se trata de dispositivos de acción rápida que requieren capacitores menores.
Si el montador desea, puede incluir un indicador LED en serie con una resistencia de 1 k ohms en la salida del circuito para poder monitorear el funcionamiento del borrador de pilas.
MONTAJE
En la figura 2 damos el diagrama completo del borrador de pilas.

Si no hay necesidad de hacer un montaje compacto, dado el número reducido de componentes, podemos usar un pequeño puente de terminales aislados como chasis, como muestra la figura 3.

Por supuesto, se puede conseguir un montaje mucho más compacto con la utilización de una placa de circuito impreso, pero esto queda a la discreción del lector.
El circuito integrado debe estar dotado de un radiador de calor que consiste en una chapa de metal doblada en forma de U. En ese caso, el montador también puede contar con un disipador comercial encontrado en las casas de materiales electrónicos.
El transformador debe ser elegido de acuerdo con la red local de energía y con la tensión de secundario necesaria al circuito específico, conforme a la siguiente tabla:
|
Tensión de Salida |
Secundário |
|
6 V |
7,5 + 7,5 V 9 + 9 V |
|
12 V |
15 + 15 V |
Recordemos que, cuanto mayor sea la corriente de secundaria, mayor será el tamaño del transformador, lo que debe ser tenido en cuenta en el dimensionamiento de la caja que va a alojar el eliminador.
La tabla siguiente da las corrientes necesarias según el tamaño de las pilas que el aparato usa.
|
Pilas |
Corriente de Secundário |
|
Palito (AAA) |
50 - 100 mA |
|
Pequeñas (AA) |
100 a 250 mA |
|
Medias ( C ) |
30 a 500 mA |
|
Grandes (D) |
600 a 1000 mA |
La salida del eliminador debe realizarse con un cable que termine con un enchufe de acuerdo con la entrada del aparato que va a ser alimentado. Compruebe que el conector del aparato que va a ser alimentado tiene el polo positivo o negativo en el centro.
PRUEBA Y USO
Para probar el aparato, enchúfelo en una toma de la red de energía y con el multímetro, en la escala de tensión DC apropiada, compruebe la tensión de salida. Si la tensión es correcta, intente alimentar el aparato con el que va a utilizarlo. comprobando ahora si la tensión no cae con su conexión.
Si esto ocurre, es necesario utilizar un transformador con mayor corriente.
Si observa un ronquido o una distorsión (si es un aparato de sonido el alimentado), aumente el valor del condensador de desacoplamiento y reduzca la longitud del cable de conexión al aparato.
Semiconductores:
CI-1 - 7806 (6V) o 7812 (12 V) - circuito integrado regulador de tensión
D1, D2 - 1N4002 o equivalente - diodos de silicio
LED - LED rojo común, opcional
Resistor: (1/8 W, 5%)
R1 - 1 k ohmos - marrón, negro, rojo - opcional
Capacitores:
C1 - 1 000 uF - electrolítico - tensión (ver texto)
C2 - 10 uF x 12 V - electrolítico
Varios:
T1 - Transformador con primario de acuerdo con la red de energía y secundario según la tensión deseada - ver texto
Placa de circuito impreso o puente de terminales, caja para montaje, cable de alimentación, cable con conector del eliminador, hilos, soldadura, etc.



