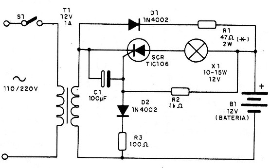
Este circuito se conecta normalmente a la red de 110 V o 220 V manteniendo constante la carga de una batería de moto (o incluso de automóvil). Si el corte de la energía, automáticamente el SCR dispara y enciende una lámpara de 12 V (10 a 15 W) que se mantiene hasta la vuelta de energía o hasta que la batería se descarte.
Con una batería pequeña podemos mantener encendida por muchas horas una lámpara de 12 V, con la potencia indicada y con ello proporcionar iluminación para salidas de emergencia o incluso en residencias.
En presencia de tensión en la red, cuando el ánodo del SCR está polarizado positivamente (tanto por la batería como por la conducción de D1), el cátodo también lo estará, de modo que sea imposible su disparo.
En estas mismas condiciones en que el SCR permanece apagado y X1 apagado, la corriente conducida por D1 y limitada por R1, mantiene la batería en régimen de carga lenta.
Cuando el corte de energía se mantiene polarizado positivamente a través de la batería B1, el cátodo del SCR está polarizado negativamente por el acceso que el devanado de baja tensión del transformador a la batería.
El resistor R2 se encarga entonces de hacer el disparo de este componente, encendiendo así su lámpara.
Cuando la energía vuelve, en el primer semiconductor positivo del secundario del transformador, el cátodo del SCR se lleva al mismo potencial de ánodo, haciendo que se apague y la lámpara se apaga.
Si se produce un nuevo corte de energía, el SCR se enciende de nuevo, manteniendo así la lámpara X1 encendida.
El resistor R1 depende de la intensidad de la corriente en la batería, siendo el valor indicado para los tipos pequeños de moto.
Para baterías más grandes es posible que tenga que reducir este resistor a 33 ohms, y si el lector utiliza los tipos de nicad debe consultar en el propio envoltorio la corriente de la carga recomendada.
En la figura 1 tenemos el diagrama completo del aparato.

La placa de circuito impreso se muestra en la figura 2.

El SCR debe estar dotado de un pequeño radiador de calor y la lámpara puede instalarse en un pequeño reflector.
Para la prueba, basta con conectar la unidad a la toma. La lámpara debe permanecer apagada y la conexión de un miliamperímetro en serie con la batería debe revelar una corriente de carga.
Al apagar la alimentación de la red, la lámpara debe encenderse y así permanecer hasta que se restablezca la alimentación.
Podemos conectar más de una lámpara como carga, instalándolas en lugares diferentes, pero la potencia total no debe pasar de 15 W.
Se pueden utilizar, por ejemplo, 3 lámparas de 5 W (aproximadamente 400 mA) en ubicaciones estratégicas.
(Utilice los LED pues tienen mayor rendimiento)
SCR - TIC106 a 50 V o más
D1 y D2 - 1N4002 o equivalentes
X1 - 1a 15 W - 12 V - lámpara
T1 - transformador con primario de acuerdo con la red local y secundaria de 12 V x 500 mA o 1 A.
S1 - Interruptor simple
B1 - batería de 12 V para moto o automóvil
Resistores
R1 - 47 ohms X 2 W
R2 - 1 k ohms X1 / 8 W
R3 - 100 ohms x 1/8 w
C1 - 100 uF - capacitor electrolítico



