Presentamos un medidor de presión con indicación tipo barra, sugerido por Honeywell (www.honeywell), con base en un sensor de su línea SPX, pudiendo ser empleado en aplicaciones industriales, embarcaciones, médicas y de electrónica de consumo. El artículo se basa en la propia documentación técnica de Honeywell. (2006)
Nota: el artículo es de 2006. Consulte el fabricante para versiones más modernas.
La ventaja de los indicadores bargraph en aplicaciones de control está en la facilidad con que la lectura de una magnitud puede ser evaluada. Evidentemente, incluso tiempo de precisión menor, la posibilidad de verse inmediatamente como está una presión en un ambiente, puede ser mucho más importante que tener una lectura con precisión.
El circuito propuesto por Honeywell, y que presentamos en este artículo, utiliza una barra de 10 LED para indicar presiones en un rango de 0.0 a 0.5 psi, pero esta pista puede ser modificada sólo con el cambio del sensor.
Las principales ventajas de esta configuración son:
• Bajo costo
• Operación con fuente simple
• Reducidas dimensiones
• Fácil lectura
• Fácil de montar
Entre las aplicaciones que Honeywell sugiere tenemos:
• Monitorear caídas de presión en filtros industriales tales como los usados en procesos químicos. En este caso, se recomienda el rango de 0 psid a 30 psid. El indicador puede alertar al operador sobre los cambios que ocurren en la presión del sistema.
• Monitoreo de caídas de presión en filtros de gas en procesos industriales, aire acondicionado, sistemas de alto vacío, etc. En este caso, se recomienda el uso de sensores en el rango de 0 a 5 psid.
• Aplicaciones médicas y equipos de filtro, filtros de computadoras y salas limpias, además de equipos de electrónica de consumo.
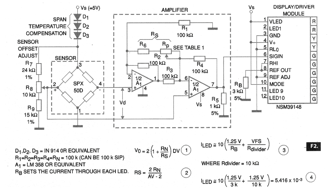
En la figura 1 tenemos un diagrama de bloques que representa la estructura básica del dispositivo propuesto.
En el circuito se combina un sensor de la serie SPX de Honeywell con un módulo de visualización de National Semiconductor NSM3914 (*).
(*): por lo que percibimos este módulo contiene el circuito integrado LM3914, LED Bargraph para 10 LEDs. Así, a falta de ese componente, el lector podrá implementar el dispositivo usando el LM3914, en su forma discreta.
El circuito mostrado puede acomodar varios sensores de la Honeywell, de la serie SPX, conforme el rango de presiones que debe medirse, conforme a la siguiente tabla que también da los valores de los resistores del circuito.
|
Rango de presión (psi) |
Dispositivo |
R6 (ohms) |
Rp (ohms) |
|
0 - 1 |
SPX50DN |
909k |
2k |
|
0-10 |
SPX50DN |
909k |
20k |
|
0-15 |
SPX100 |
6,9k |
20k |
|
0-30 |
SPX200 |
6,9k |
20k |
Valores calculados para Rn - 100 k
El Circuito
En la figura 2 tenemos entonces el diagrama completo del sensor de presión tipo bargraph (barra de LED).
El dispositivo fue indicado originalmente para ser utilizado en un filtro industrial de aceite, donde hay 4 medidores como el indicado, en una secuencia que permite monitorear la caída de presión que ocurre cuando la suciedad se acumula.
La calibración de este circuito se realiza ajustando la ganancia del amplificador y además existe un ajuste hecho derivando un brazo del puente sensora, que es el ajuste de offset. Este ajuste debe ser hecho de modo que en la presión cero tengamos realmente una salida de tensión 0 y en la salida máxima una tensión de 35 mV.
Los cálculos detallados de cómo los diversos componentes de este circuito así como sus características se determinan pueden obtenerse en la documentación disponible en el sitio web de Honeywell.
Display
En el ejemplo dado, se utilizó un display con 6 LEDs verdes, 2 amarillos y 2 verdes para indicar el nivel de presión en el sistema monitoreado. Por supuesto, se pueden utilizar otros colores o números diferentes de LED de cada color para la aplicación específica.
Calibración
Sólo se deben realizar dos ajustes no interactivos para colocar este circuito en funcionamiento. Inicialmente ajuste el offset aplicando una presión diferencial cero en el sensor y ajustando R8 para leer 0 V en la salida del sensor (0 V entre los pines 4 y 2 del SPX). Después ajuste la salida aplicando la presión máxima (10 psi) en el ejemplo, y ajustando Rp para que el décimo LED se encienda.
Conclusión
Conforme el lector puede percibir, se trata de un circuito bastante simple para la monitorización de presión en sistemas industriales o incluso en aplicaciones de consumo, dado el reducido número de componentes usados y la operación no crítica.





