Describimos un pequeño inversor que permite alimentar lámparas fluorescentes con pilas medianas o grandes comunes o recargables. El aparato es ideal para trabajar con lámparas de 3 a 5 W, pero incluso las bombillas más grandes se iluminarán con menos deslumbramiento.
Nuestro proyecto consiste en un inversor de baja potencia que convierte el tensión de pilas y baterías a alto tensión, suficiente para iluminar lámparas fluorescentes. Incluso las lámparas que ya no se iluminan en la instalación eléctrica convencional se iluminarán, aunque con menos luminosidad dadas las características del circuito.
Podemos utilizar este circuito en camping, alumbrado de emergencia, como una curiosidad de laboratorio y para alimentar fluorescente ultravioleta en investigación mineral y verificación de fluorescencia de sustancias químicas.
El circuito consiste en un oscilador Hartley con un solo transistor que carga un pequeño transformador de 6+6 V. La frecuencia del oscilador depende de los dos capacitores que pueden ser alterados para obtener un mayor rendimiento.
De hecho, será conveniente probar varios valores, o incluso conectar un trimpot 10k en serie con el resistor con el fin de lograr una mayor tensión con el transformador utilizado. A medida que el consumo depende del rendimiento, la duración de las pilas puede variar considerablemente del proyecto al proyecto.
Montaje
En la figura 1 tenemos el diagrama completo del inversor.
El montaje basado en un pequeño puente terminal se muestra en la figura 2.
El transistor debe estar dotado de un disipador térmico y el transformador puede ser de cualquier tipo con secundario de 6 a 12 V y corriente de 200 a 500 mA. El primario debe ser de 110/220 V o solamente 220 V.
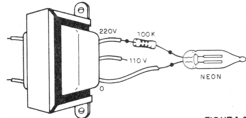
El circuito también encuentra otras aplicaciones interesantes, como la cocción de una pequeña lámpara de neón, como se muestra en la figura 3.
Como el consumo de lámparas de neón es muy bajo, una gran cantidad de ellos se puede encender al mismo tiempo con este circuito.
Otra aplicación es como un electrificadora, simplemente que la conexión de la bobina de alta tensión del transformador se hace como se muestra en la figura 4.
Para esta aplicación, será interesante utilizar una batería que tenga una autonomía mucho mayor que las pilas ordinarias.
Finalmente, podemos utilizar el circuito como un conductor de nervio o máquina de choque que une los electrodos, como se muestra en la figura 5.
Los electrodos son tubos metálicos o pilas desgastadas con la tinta raspada.
Tenga cuidado al usar este circuito porque los choques son desagradables.
Lista de Material
Q1 – TIP31 - transistor NPN de potencia
T1 – Transformador – Ver texto
L1 - Lámpara fluorescente – Ver texto
C1 – 10 nF – capacitor de cerámica o de poliéster
C2 – 100 nF – capacitor de cerámica o de poliéster
R1 – 1k2 x 1/8 W – resistor – marrón, rojo, rojo
S1 – Disyuntor simple
B1 – 4 pilas medianas, grandes o baterías
Varios:
Puente de terminales, radiador para transistor, alambres, soldadura, etc.








