Un hombre, llevando un lobo, una cabra y un pie de lechuga desea atravesar un río. Sin embargo, sólo dispone de un barco que puede llevar a uno de los pasajeros a la vez. Si lleva el lobo, la cabra come el pie de lechuga; si lleva el pie de lechuga, el lobo come la cabra. ¿Cómo hacer para atravesar los tres?
En la introducción resumimos lo que se desea de ese juego, en su versión original. Con el circuito que describimos, tenemos una versión electrónica en la que un circuito lógico dispara una alarma cada vez que se alcanza una situación no deseada. En suma, cuando haya la posibilidad de comer el otro, la alarma tocará. La función del jugador es, por lo tanto, atravesar los tres "pasajeros" sin dejar un comer el otro, llevando sólo uno a la vez. (figura 1)
Observación
Este artículo fue publicado originalmente en el libro Experiencias y Juguetes con Electrónica - Volumen 3, que ahora reeditamos en segunda edición actualizada y modificada para atender a los montadores de nuestros días. En ella, según las observaciones dadas en este artículo, cambiamos algunos componentes por otros que son más fáciles de obtener.
El proyecto es bastante actual e interesante, pudiendo ser utilizado como base para un interesante trabajo escolar. En el sitio www.newtoncbraga.com.br una versión con llaves que opera exactamente sobre el mismo principio.
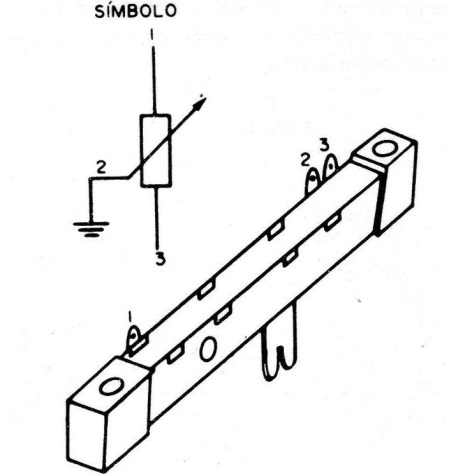
Cada uno de los cuatro personajes de nuestro problema consiste en un potenciómetro del tipo deslizante que puede desplazarse de un margen a otro de nuestro río. Así, el jugador, siempre tomando dos a la vez o uno solo, puede realizar la travesía llevándolo hacia una u otra margen del río. Si una situación en que el lobo coma la cabra, o que la cabra coma la lechuga sea alcanzada , el circuito la detectará accionando un oscilador. (figura 2). Recuerde, evidentemente, que los lobos no son vegetarianos, es decir, no comen lechuga!

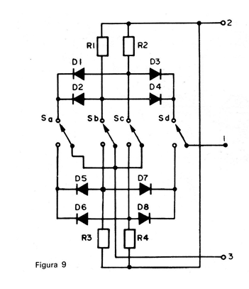
Si bien la versión usando potenciómetros del tipo "corredizo" es la más interesante por el realismo que puede proporcionar, a falta de ese componente, se pueden usar llaves reversibles. Para facilitar los lectores daremos los diagramas para los dos montajes.
De la misma manera, al final, daremos la solución al problema, para que el lector que montó el aparato no pase ningún humillación delante de sus amigos!
COMO FUNCIONA
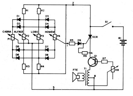
Podemos decir que nuestro circuito consta básicamente de un sistema lógico capaz de proporcionar una salida cuando se establece una situación no deseada, accionando con ello un circuito oscilador que emite el sonido de alarma. Cada potenciómetro puede ser desplazado hacia arriba o hacia abajo, colocando sus extremos en un potencial bastante bajo, ya que los cursores se encuentran conectados a la tierra (figura 3).

Con ello, los diodos conectados de tal modo a conducir sólo cuando se alcanzan situaciones no deseadas, pueden accionar o no el sistema de alarma. Así, la disposición de los diodos y la conexión de los potenciómetros se hace de tal modo que no hay señal en la salida a menos que una situación en que un pasajero pueda comer el otro sea alcanzada.
En suma, la disposición de los diodos es hecha de modo que tenemos en la compuerta de un SCR o sea, en la salida del circuito una señal cuando la cabra se encuentra sola con la lechuga en una orilla del río, o cuando el lobo se encuentra solo con la lechada cabra en una orilla del río. El mismo sistema impide que haya una salida, inhibe, cuando el hombre se encuentra cerca. De este modo la alarma no tocará cuando en el mismo margen se encuentra el hombre, la cabra y el lobo, lo que equivale a decir que "el hombre no deja a la cabra comer el pie de lechuga".
La salida del circuito se aplica directamente a la conducción de un SCR que, por lo tanto, será disparado cuando cualquier señal de situación prohibida sea alcanzada. Como ya sabemos, de otros montajes, un SCR, o diodo controlado de silicio consiste en un dispositivo que conduce intensamente la corriente cuando una señal es aplicada a su comporta. (figura 4)

Este SCR está conectado en serie con un circuito oscilador cuya función es producir una señal de alarma cuando se establece la situación prohibida. Se trata de un oscilador Hartley, un circuito dotado de un transistor y de un transformador con una toma central. A través de la derivación del transformador se realiza la realimentación de señal que mantiene el circuito en oscilación (figura 5).
La frecuencia de funcionamiento de este oscilador y, por lo tanto, el timbre de la señal de alarma, puede ser ajustado ligeramente por la realimentación hecha por medio del resistor de base, que en nuestro proyecto será del tipo variable (trimpot).

Nota. Otros osciladores con configuraciones más modernas pueden ser usados como los que hacen uso del 555 o incluso 4093. Varios de ellos están disponibles en el sitio del autor. El circuito entero será alimentado por una tensión continua de 6 voltios, y en este punto se debe hacer una observación en relación al único punto crítico de su funcionamiento:
Los SCR sólo "se apagan" cuando la tensión entre su ánodo y el cátodo cae a un valor suficientemente bajo, después de un pulso de excitación. Así, en nuestro caso, esa tensión es obtenida por el comportamiento "inductivo" del transformador del oscilador. Si el transformador no es del tipo recomendado en la lista de material, puede ocurrir que después de que un jugador errar en la travesía y la alarma se accione, volviendo a la posición inicial el aparato no se apague. En este caso, se debe procurar sustituir el transformador por uno de tipo que lleve a los resultados.
MONTAJE Y COMPONENTES
Para el montaje de este juego, el lector necesitará las herramientas que normalmente se emplean en los trabajos de electrónica, es decir, un hierro de soldadura de pequeña potencia (máximo de 30 vatios), soldadura de buena calidad, un alicate de corte, un alicate de corte punta y destornilladores. Las herramientas para la elaboración de la caja que alojará el aparato también deben ser consideradas en este caso.
Con respecto a los componentes usados tenemos dos observaciones a realizar:
a) Los potenciómetros "corredizos " o deslizantes.
Estos potenciómetros, si bien ya se pueden encontrar con la facilidad en ciudades de comercio electrónico, tal vez no lo puedan en ciudades menores, ya que son componentes relativamente nuevos. (figura 6) (El artículo es de 1988.) Así, si hay dificultad en su obtención, el lector debe optar por el circuito que usa llaves reversibles a las que éstas son más comunes, pudiendo ser encontradas con mucha mayor facilidad. Los circuitos para las dos versiones serán dados.

Hoy, estos componentes son comunes y pueden ser adquiridos de diversos proveedores por Internet.
b) El transformador del oscilador.
El transformador utilizado en el circuito del oscilador es del tipo miniatura encontrado normalmente en los circuitos de salida de radios portátiles. Estos transformadores poseen un primario con toma central con una impedancia entre 200 y 1.000 ohmios y un secundario de 8 ohms, es decir, de acuerdo con el altavoz usado. (figura 7) Si en el montaje, el oscilador 'no se apaga cuando vuelve de una situación permitida, el lector busca sustituir uno con características que mejor se adapte a la finalidad del proyecto.

Volviendo al montaje, comience preparando la caja para recibir los potes o las llaves. Para el caso de las llaves estas pueden montarse lado a lado, conforme hecho en el prototipo, realizándose un orificio rectangular en el panel de la caja del aparato de 6 x 4 cm.
El altavoz se puede instalar internamente, si hay espacio, o externamente, quedando en la parte lateral el interruptor que conecta y desconecta el circuito.
Los diodos que forman el circuito detector de la situación prohibida serán soldados directamente en los terminales del potenciómetro o de las llaves. Para este propósito siga el circuito para las dos versiones, dados en las figuras 8 y 9.


Acompaña la disposición en el puente de terminales en las figuras 10 y 11.
La alimentación se realizará por medio de 4 pilas pequeñas que se instalarán en un soporte apropiado colocado dentro de la caja. Como el consumo del aparato es muy pequeño, la duración de las pilas será grande.
Completa la conexión de los diodos, trabaje en el puente de terminales, soldando en primer lugar el SCR, observando cuidadosamente su posición (el lado achatado debe quedar a la derecha, o aún, la parte plástica hacia arriba). A continuación, suelte el transistor oscilador, observando también su posición. Si éste es del tipo plástico, el lado achatado debe quedar hacia arriba. Si es del tipo de envoltura metálica, vea la identificación de sus terminales en la figura 12.
Los tipos con envolturas metálicas casi no se encuentran en nuestros días. Si el transformador es del tipo con terminales rígidos, éstos pueden ser soldados directamente en el puente manteniendo en posición ese componente. Si las terminales son flexibles, proceda a su soldadura, fijando después el componente de modo apropiado.
Solde en seguida, en posición el trimpot y los demás componentes, observando en el caso del diodo su posición. Completada la soldadura de los componentes, proceda a las interconexiones entre estos, y entre los potenciómetros deslizantes, el soporte de pilas y el altavoz con hilo fino flexible. Los hilos pueden ser comprimidos que no hay problema.
La llave S1 sirve para encender y apagar el aparato estando fijada en la parte lateral de la caja que aloja el aparato. Completa el montaje recortando el panel frontal, dibujando en este un río, como sugiere la figura en la introducción, y en los botones de los potenciómetros deslizantes dibujar o escribir el "pasajero" que representan.
En el caso del montaje con llaves (en lugar de los potenciómetros deslizantes), cambia sólo el panel frontal y en el caso en que cada uno sea indicado el "pasajero" que representan.
EXPERIMENTANDO Y USANDO EL JUEGO
Completado el montaje, compruebe todas las conexiones, y si todo está en orden, conecte la llave que establece la alimentación del circuito. A continuación, coloque todas las llaves en la posición que corresponda a un lado del río, es decir, todas hacia arriba o hacia abajo (el mismo siendo válido para los potenciómetros diapositivas), y lleve al otro lado la clave correspondiente al hombre. El oscilador debe inmediatamente emitir su sonido característico, es decir, un silbato. (figura 13)

Si esto no ocurre, ajuste el trimpot para que haya emisión de sonido. Si en ninguna posición del trimpot hay emisión de sonido, vuelva a comprobar el montaje, ya que algo está mal.
Una vez conseguido el ajuste, vuelva la llave o potenciómetro correspondiente al hombre hacia la margen del río en que se encuentren todos los "pasajeros". El oscilador debe dejar de tocar. Si esto no ocurre, puede deberse a las características inapropiadas del transformador, debiendo ser provisto su sustitución por un equivalente.
Si todo está en orden, usted puede ser el primero en intentar la travesía "Sin dejar la alarma tocar, es decir, sin dejar un pasajero comer el otro". Para ello, usted debe empujar hacia la margen opuesta del río, solamente dos potenciómetros o llaves a la vez, siendo uno de ellos obligatoriamente el correspondiente al hombre (pues sólo él sabe remar).
En la vuelta de la otra orilla, puede volver al hombre solo, o si lo desea, con un solo pasajero. Pruebe la travesía, y si no lo consigue, vea la solución abajo.
SOLUCIÓN
a) Lleve al hombre ya la cabra a la otra orilla del río, pues quedando de un lado el lobo y la lechuga no sucede nada, porque el lobo no come lechuga.
b) A continuación, vuelva el hombre.
c) El hombre entonces pasa a la otra orilla llevando la lechuga. Al llegar a la otra orilla no sucede nada porque la presencia del hombre, impide que la cabra coma la lechuga.
d) En la vuelta, el hombre debe traer la cabra, pues si ella se queda en la otra orilla, ella comerá el pie de lechuga.
e) En el margen de aquí, deje la cabra y lleve el lobo, dejando el 'lobo en la otra orilla, volviendo el hombre solo. El lobo y el pie de lechuga en la otra orilla, no pasa nada, porque como vimos, el lobo no come lechuga.
f) Volviendo solo, el hombre puede llevar a la cabra, completando el transporte de los tres pasajeros como era deseado. (figura 14)

LISTA DE MATERIAL
R1, R2, R3, R4 - 22 K ohms x 1/4 W - resistores (rojo, rojo, naranja)
R5 - 10 K ohms x 1/4 W - resistor (marrón, negro, naranja)
R6 - 100 K ohms x 1/4 W - resistor (marrón, negro, amarillo).
R7 - 2,2 K ohms x 1/4 W - resistor (rojo, rojo, rojo).
R8 - 47 K ohms - trimpot
P1, P2, P3, P4 - potenciómetros de deslizantes de 1M ohms o 500 K ohms. (470k)
D1, D2, D3, D4, D5, D6, D7, D8, D9, diodos de silicio común (1N914 o equivalente).
SCR - TIC1 O6, MCR106, C1O6 - diodo controlado de silicio para 50 V o más.
Q1 - BC307, BC308, BC309 - transistores. (BC547, 548 o BC549)
T1 - transformador de salida para transistores (ver texto).
FTE - altavoz de 8 ohms.
B1 - 2 pilas pequeñas conectadas en serie.
S1 - Interruptor simple.
Varios: caja para alojar el conjunto, soporte de pilas, puente de terminales, botones para los potenciómetros de diapositivas, tornillos, hilos, tuercas, soldadura, etc.
NOTAS
a) en el caso de la versión con llaves reversibles, en lugar de P1, P2, P3 y P4, deberán adquirirse:
Sa, Sb, Sc, Sd - llaves reversibles 2 polos x 2 posiciones o 1 polo por dos posiciones, palanca, cuchillo o deslizadores.
b) En los puntos A y B en el circuito se puede conectar un cigarrillo del tipo utilizado como bocina de bicicleta, para 3 volts con los mismos efectos del oscilador.
c) ¿Qué tal crear una versión usando un microcontrolador como el Arduino con sofisticas como la inclusión de recuento de puntos por el número de intentos?







