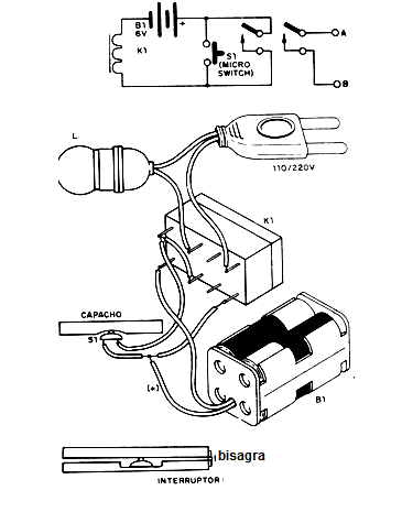
Esta alarma emplea sólo tres componentes: un juego de pilas, un relé y un interruptor de presión que puede ser un botón de timbre como un par de láminas. Otra posibilidad es utilizar un microswitch.
Como podemos ver por el circuito, el interruptor puede ser adaptado entre dos tablas articuladas y colocado bajo una cinta o capacho de entrada de una tienda o residencia. Cuando alguien camina en el capacho o alfombra el relé cierra sus contactos y se bloquea, accionando una alarma. Para apagar, basta con retirar una de las pilas por un momento. En la figura 1 tenemos el diagrama y montaje de la alarma.

El relé es de 6 V con corriente de bobina hasta 100 mA y contactos hasta 2 A o más dependiendo de lo que se desea controlar, Las pilas pueden ser pequeñas, ya que el consumo es nulo en la condición de espera.



