Este circuito convierte una tensión continua pura de muy bajo valor en una tensión pulsante de igual amplitud y frecuencia determinada por los elementos del oscilador. Entre las posibles aplicaciones para este circuito citamos la utilización de milivolts, de corriente alterna, en la medida de tensiones continuas de valores muy bajos.
Hay muchas configuraciones simples que, sin embargo, presentan grandes utilidades. Esta, que presentamos en este artículo, es una de ellas, siendo útil en la bancada del técnico electrónico que, con frecuencia, necesita medir tensiones continuas muy bajas, pero que sólo dispone de un milivoltímetro para corrientes alternas.
Lo que proponemos es un circuito capaz de convertir una tensión continua pura en una tensión pulsante de la misma amplitud, para poder hacer su medida en un instrumento de CA.
La frecuencia de funcionamiento del circuito se fija en 1 kHz por los elementos del astable, pero nada impide que los componentes se cambien para permitir la operación en otras frecuencias.
La alimentación viene de pilas comunes o batería y el consumo de corriente es muy bajo.
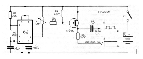
EL CIRCUITO
El resistor R5 en serie con el transistor de efecto de campo forma un divisor de tensión.
El transistor de efecto de campo conmuta cuando se aplica en su conducción una tensión negativa. Esta tensión se obtiene de un oscilador con el 555.
Cuando se aplica una tensión en la entrada CC, y el FET está sin polarización de conducto, es decir, en el corte, la tensión que aparece sobre el condensador C3 y, por lo tanto en la salida, es prácticamente la misma aplicada a la entrada. Cuando el transistor de efecto de campo recibe la polarización negativa, satura, y la tensión en la salida cae prácticamente a cero en relación a la referencia.
Con tensiones muy bajas de entrada (corte), en el rango de los milivolts, el FET funciona como una resistencia casi infinita, y como una resistencia muy baja, casi nula, cuando está saturada.
Para evitar los efectos de la avalancha que ocurren cuando una tensión excesiva se aplica al gate y que puede causar la circulación de un nivel de polarización del FET. Este componente debe ajustarse para obtener la salida máxima en su umbral.
El circuito funcionará satisfactoriamente con tensiones de entrada de menos de 1 mV.
MONTAJE
Comenzamos por dar el circuito completo en la figura 1.

En la figura 2 tenemos la placa de circuito impreso para este aparato.

Los resistores son todos de 1/8 W con 5 o 10% de tolerancia y los capacitores cerámicos o de poliéster, excepto C3, que es un electrolítico para 12 V o más.
El FET puede ser tanto el MPF102 como el BF245, recordando que el layout de la placa es para el BF245, ya que el otro tiene disposición diferente de terminales.
P1 es un trimpot común y la alimentación debe realizarse con una batería de 9 V.
PRUEBA Y USO
La prueba y el ajuste se pueden realizar con ayuda de un osciloscopio, debiendo P1 ser ajustado para el punto en que se aplique la menor tensión de puerta que aún provoque la saturación del FET.
Para el uso debemos observar las limitaciones, recordando que la salida es de alta impedancia.
CI-1 - 555 - circuito integrado
Q1 - BF245 o equivalente - transistores de efecto de campo
B1 - 9 V - batería
S1 - interruptor simple
P1 - 100 k - trimpot
R1, R2 - 22k - resistores (rojo, rojo, naranja)
R3 - 10 k - resistor (marrón, negro, naranja)
R4 - 220 k - resistor (rojo, rojo, amarillo)
R5 - 100 k - resistor (marrón, negro, amarillo)
C1 - 22 nF - capacitor de cerámica o de poliéster
C2 - 100 nF - capacitor de cerámica o de poliéster
C3 - 10 uF x 12 V - capacitor electrolítico
Varios: placa de circuito impreso, caja para montaje, zócalo para el integrado, hilos, soldadura, etc.



