Las fuentes de alimentación simplificadas, del tipo eliminador de pilas, sin la necesidad de un transformador de aislamiento, pueden ser útiles en numerosas aplicaciones prácticas de bajo consumo, como la alimentación de LEDs, pequeños motores o circuitos electrónicos que no necesitan regulación, etc. Evidentemente, sólo las aplicaciones en las que la seguridad que un transformador aislante proporciona deben ser tenidas en cuenta tales como calculadoras, relojes, etc. La fuente que describimos puede alimentar circuitos que requieran tensiones de 3 a 12 voltios con corrientes de hasta unos 200 mA.
Las fuentes de alimentación sin transformadores o FASTs consisten en una alternativa barata para quienes necesitan de baja potencia en corriente continua sin la necesidad de utilizar un componente caro y voluminoso: el transformador.
Evidentemente, el transformador no debe ser despreciado, ya que proporciona el aislamiento de la red que garantiza la seguridad del usuario del aparato alimentado.
La fuente que describimos no utiliza transformadores y por eso debe ser usada con cuidado, no debiendo alimentar cualquier tipo de aparato que tenga una conexión a su chasis oa un punto que pueda ser cambiado por el operador.
Pequeños aparatos de uso doméstico o proyectos experimentales que normalmente usan pilas y que están bien aislados en sus cajas pueden perfectamente ser alimentados por esta fuente que se caracteriza por los pocos componentes usados. Entre los dispositivos que pueden ser alimentados por esa fuente podemos citar:
• LEDs
• Pequeñas bombillas
• Circuitos electrónicos de bajo consumo
• Relés sensibles
• Motores de bajo consumo
COMO FUNCIONA
La idea básica del proyecto consiste en hacer la reducción de la tensión de la red de energía, no por medio de un transformador, sino usando la reactancia capacitiva de un capacitor de poliéster u otro tipo despolarizado.
Conforme el lector debe saber, la "oposición" que un capacitor presenta al paso de una corriente alterna depende tanto de su capacidad y de la frecuencia de la corriente.
La ventaja en la utilización de un capacitor como una "oposición" o "resistencia" está en el hecho de que lo hace con un mínimo de disipación de energía en forma de calor, lo que no sucede con un resistor, como muestra la figura 1.

Así, es posible reducir la tensión de la red de energía a valores más apropiados para el trabajo de una fuente, sin utilizar transformador, con la ayuda de un capacitor apropiado.
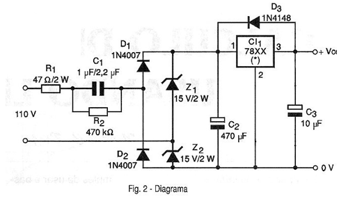
En nuestro circuito este capacitor es C1 que puede tener valores entre 1 uF y 2,2 uF conforme la corriente que deseamos en la salida.
El resistor de 470 k ohms en paralelo con este resistor es para evitar que se mantenga cargado al apagar el aparato lo que puede ser causa de golpes desagradables.
Una vez que la tensión ha sido bajada por la red de entrada en que el componente principal es el capacitor pasamos la rectificación de limitación inicial de tensión hecha por medio de un puente.
Este puente utiliza dos diodos comunes y dos diodos zener de 15 voltios que tienen por objeto evitar que picos superiores a 15 volts aparezcan en el circuito de regulación de salida, lo que podría causar problemas para el circuito integrado.
El capacitor C2 filtra la tensión obtenida en el puente para obtener una tensión continua pura.
Finalmente tenemos el circuito estabilizador de tensión cuyo tipo va a depender de la tensión que deseamos en la salida. El XX del tipo indicado en el diagrama indica la tensión de salida.
Así, podemos usar un 7806 si queremos 6 V de salida o un 7812 para una tensión de salida de 12 voltios. Para tensiones menores es necesario usar un zener de 2 W o mayor.
La corriente máxima de los reguladores de la serie normal en envoltorio TO-220 es de 1 ampère, pero en este circuito tendremos una corriente disponible menor. Sin embargo, será interesante dotarlo de un pequeño radiador de calor.
Sin embargo, hay reguladores de la serie 78XX de menor capacidad de corriente (200 mA) que se pueden utilizar si el consumo es de esa orden o menor, y que se suministran en envoltórios TO-54 (similar al de los transistores BC548) y que no necesitan disipador de calor.
La salida del circuito es desacoplada por el capacitor C3 y el diodo D2 tiene por finalidad proteger el circuito integrado cuando conectamos y desconectamos cargas inductivas.
MONTAJE
En la figura 2 tenemos el diagrama completo de la fuente sin transformador para la red de 110V. Para la red de 220V, dependiendo de la corriente requerida, el capacitor C1 puede tener sus valores reducidos.

Podemos decir que, para la misma corriente, en la red de 220 V el capacitor puede tener la mitad del valor del corresponsal en la red de 110 V.
La disposición de los componentes de este montaje en una placa de circuito impreso se muestra en la figura 3.

El componente más crítico de este montaje es el capacitor C1 que debe ser obligatoriamente de poliéster metalizado con una tensión de trabajo de al menos 200 V si la red de energía es de 110V. Para la red de 220 V la tensión mínima de trabajo indicada es de 400V.
Los diodos zener son de 2 W o más grandes y el capacitor electrolítico C1 debe tener una tensión de trabajo de al menos 25 volts.
El capacitor C3 debe tener una tensión de trabajo un poco mayor que la tensión de salida de la fuente. El circuito integrado debe seleccionarse de acuerdo con la tensión que se desee en la salida.
El modo de hacer la salida de la fuente depende de la aplicación. Tenga siempre en cuenta que no hay aislamiento de la red de energía y que ninguna parte de los cables de salida o del circuito debe quedar expuesta. Un contacto con estas partes sería peligroso.
Para la alimentación de un proyecto, puede ser incluida en la misma placa o aún hecha por hilos comunes. Para alimentar aparatos comerciales, utilice un cable con conector adecuado.
PRUEBA Y USO
Para probar el aparato conecte la fuente a la red de energía y luego mida con cuidado la tensión de salida.
Esta medida debe realizarse evitando cualquier contacto con partes vivas, ya que la fuente no está aislada de la red y por eso puede causar choques.
Comprobado el funcionamiento es, sólo usar la fuente respetando tanto su limitación de corriente como su polaridad.
El máximo de cuidado debe tomarse para evitar cualquier contacto con partes vivas. Cierre la fuente en la caja de plástico para evitar problemas.
Semiconductores:
D1, D2 - 1N4004 (1N4007 para la red de 220 V) o equivalentes - diodos de silicio
Z1, Z2 - 15V x 2W - diodos zener
CI-1 - 78XX - circuito integrado regulador de tensión, conforme tensión deseada en la salida - ver texto
Resistores
R1 - 47 ohms x 2W - hilo
R2 - 470k ohms x 1 / 2W - amarillo, violeta, amarillo
Capacitores:
C1 - 1 uF o 2,2 uF x 200V (red de 110V) o 400 V (red de 220V) - poliéster - ver el texto
C2 - 470 uF / 25V - electrolítico
C3 - 10 uF / 16V - electrolítico
Varios:
F1 - Fusible de 500 mA
Placa de circuito impreso, cable de fuerza, caja para montaje, radiador de calor para el circuito integrado, soporte para fusible, hilos, soldadura, etc.



