Los indicadores de volumen (VU) con LEDs son bastante comunes en los parches de sonido, produciendo efectos de luz interesantes. Los mismos efectos pueden ser ampliados para lámparas y con eso podemos obtener un VU Gigante para ser usado en salones de fiestas, eventos y casas nocturnas. En este artículo describimos el montaje de uno.
El circuito que presentamos puede alimentar 7 lámparas incandescentes de 5 a 100 W en una escala tipo barra móvil, necesitando muy poca potencia del sistema de sonido.
Las lámparas pueden ser del mismo color o de colores, según el efecto deseado y el circuito puede ser montado en una columna, por ejemplo, o de otra forma que el lector juzgue interesante.
Como funciona
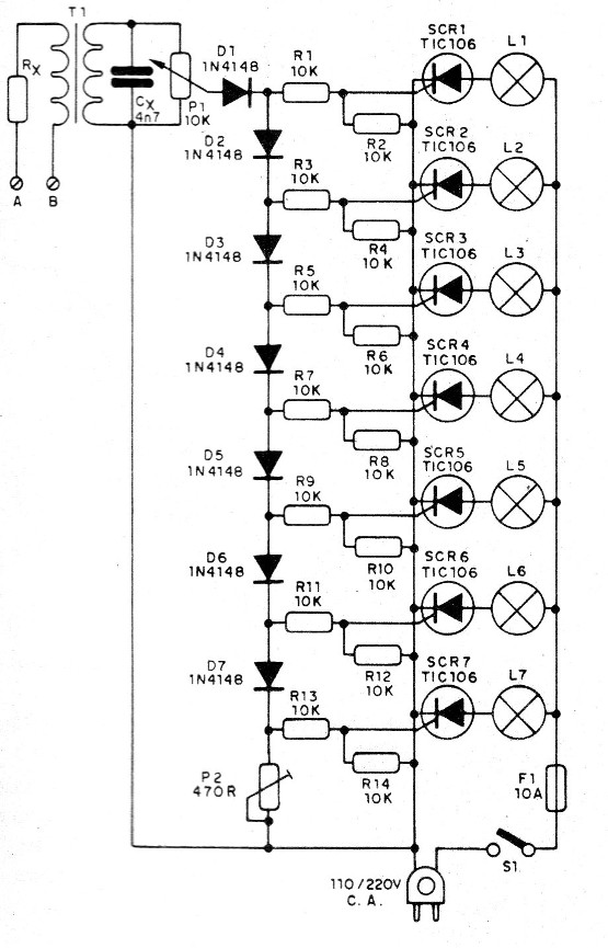
Una pequeña parte de la señal de audio que va a los altavoces del sistema de sonido se aplica a la entrada del aparato a través de un transformador, que también sirve para aislar los sistemas garantizando la seguridad.
La señal del secundario del transformador se aplica a un control de sensibilidad formado por P1, el cual se ajusta según el volumen y la potencia del sistema de sonido.
La señal de esta potencia va a una serie de diodos de modo que cada cual necesita una tensión del orden de 0,7 V para conducir.
Obtenemos de esta forma un circuito de accionamiento escalonado de modo que cada SCR conectado a la red dispare con una tensión 0,7 V mayor que el anterior.
Tenemos entonces como carga para cada SCR una lámpara incandescente.
Con un buen ajuste de la sensibilidad, las señales débiles harán que sólo los primeros SCR se disparen y las lámparas correspondientes enciendan.
Con las señales fuertes, la tensión en la red es suficiente para que todos los SCR se disparen y así todas las lámparas se encienden.
Como la música es dinámica y la respuesta del circuito rápido, los LED se encienden en cantidad que está constantemente variando con un efecto de barra.
Observamos que los SCR son circuitos ruidosos, produciendo interferencia que puede ser fácilmente captada por el sistema de sonido.
Así, como muestra la figura 1 debe ser intercalado entre el circuito de accionamiento y el aparato de sonido un filtro.

Montaje
En la figura 2 tenemos el diagrama completo del aparato.

La placa de circuito impreso para el montaje se muestra en la figura 3.

Para la red de 110 V los SCRs deben ser TIC106B o D, y para la red de 220 V deben ser los TIC106D.
En los dos casos, si las lámparas son de más de 25 W, deben estar dotadas de un pequeño disipador de calor.
El transformador es del tipo de alimentación con primario de 110 V, conectado al potenciómetro, y secundario de cualquier tensión entre 6 y 12 V con corriente entre 200 y 600 mA.
El resistor Rx depende de la potencia del amplificador, según la siguiente tabla:
Potencia del amplificador x Rx
1 a 10 W: 10 ohms x 1 W
10 a 30 W: 22 ohms x 1 W
30 a 60 W: 47 ohms x 2 W
60 a 100 W: 100 ohms x 2 W
100 a 200 W: 150 ohms x 2 W
Por encima de 150 W: 220 ohms x 2 W
El capacitor Cx determina la respuesta de frecuencia del circuito pudiendo ser experimentado en el rango de 10 nF a 470 nF.
Los valores menores aumentan la respuesta del circuito a los sonidos agudos.
Los demás componentes del circuito son comunes y el conjunto debe ser colocado en caja cerrada, pues opera directamente conectado a la red de energía.
Prueba y uso
En la figura 4 tenemos el modo de conectar el aparato a uno de los canales del sistema de sonido.

Se pueden montar dos circuitos iguales para conectar uno en cada canal de un sistema de sonido.
Para probar y usar, basta con conectar el sistema de sonido, ajustando el volumen de la canción.
Ajuste inicialmente P2 para obtener el encendido de la primera lámpara.
A continuación, ajuste P1 para que las lámparas parpadeen de la forma deseada, barriendo toda la escala de lámparas.
SCR1 a SCR8 - TIC106Bu D (110 V) o TIC106D (220 V)
D1 a D7 - 1N4148 - diodos de uso general
T1 - Transformador - ver texto
P1 - 10 k ohms - potenciómetro lin o log
P2 - trimpot de 470 ohms
F1 - Fusible de 10 A
R1 a R14 - 10 k ohms x 1/8 W - resistores - marrón, negro, naranja
Rx - ver el texto
Cx - 10 nF a 470 nF
S1 - Interruptor simple
X1 a X7 - lámparas incandescentes de 5 a 100 W (no utilice lámparas electrónicas)
Varios:Placa de circuito impreso, cable de alimentación, zócalo para el fusible, sockets para las lámparas, caja para montaje, hilos, soldadura, etc.



