Describimos el montaje de un circuito didáctico que tanto sirve para demostrar el principio de funcionamiento de los diodos como también consiste en una excelente prueba de habilidad, que puede aplicarse en las personas con las más diversas finalidades. El proyecto es extremadamente simple, pudiendo ser realizado incluso por los lectores que no tengan mucha experiencia con la electrónica.
La idea básica de este rompecabezas reside en el principio de funcionamiento de los diodos semiconductores.
Como muestra la figura 1, si polarizamos un diodo en el sentido directo (ver la posición del ánodo y el cátodo), deja pasar la corriente, ofreciendo muy poca oposición o resistencia.
Sin embargo, si polarizamos el diodo en sentido inverso, prácticamente no dejará pasar corriente alguna, como muestra la figura 2.
Por lo tanto, es claro que si tenemos varios diodos conectados en serie y un LED para indicar el paso de la corriente, como muestra la figura 3, la corriente sólo podrá circular en ese circuito y con ello el LED se encender, si todos los diodos están polarizados en el sentido directa.
Si un solo diodo de este conjunto está polarizado en sentido inverso, como se muestra en la figura 4, la cadena se bloqueará y el LED no se encender.
Nuestro Proyecto
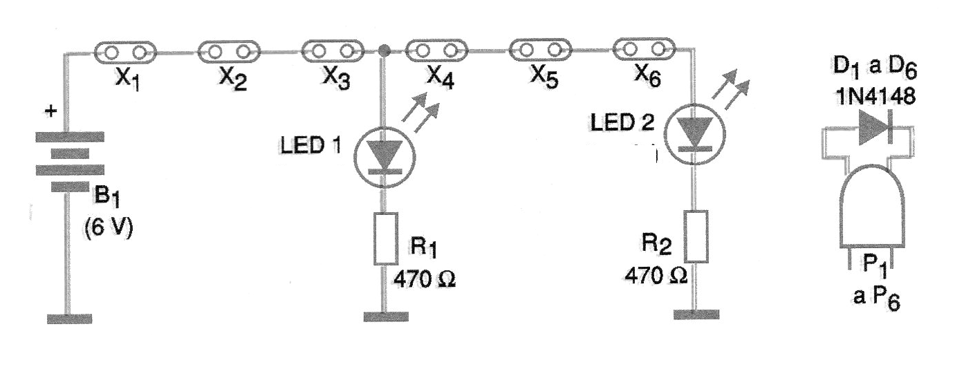
Lo que hacemos entonces es utilizar dos conjuntos de 3 tomas conectadas en serie, teniendo al final de cada uno un LED indicador con un resistor limitador de corriente.
En cada toma debemos encajar un enchufe que ha conectado un diodo. Sin embargo, no podemos ver el modo en que este diodo está encendido, ya que está incrustado en la pieza.
Así, sólo si los tres enchufes se colocan en la posición correcta, que lleve los diodos a la polarización directa, es que la corriente puede pasar y los LED se encienden, conforme la figura 5 ilustra.

El propósito del juego es entonces simple: el jugador tendrá a su disposición 6 enchufes iguales. Debe entonces hacer intentos para obtener la combinación de posiciones (invirtiéndolas tantas veces como sea necesario) hasta que los dos LED se enciendan.
El ganador de una competición será aquel que lo logre en el menor tiempo posible.
Montaje
En la figura 6 tenemos el diagrama completo del rompecabezas.
La disposición real de los componentes se muestra en la figura 7.
Usamos dos conjuntos de tres tomas que se pueden adquirir en cualquier casa de material eléctrico. Los diodos son 1N4002 o cualquier equivalente.
Los LED se instalarán en puentes de terminales junto con los resistores y la alimentación empleando 4 pilas pequeñas en un soporte apropiado.
Los diodos se incrustan en los enchufes como se muestra en la misma figura.
Estos tapones se deben cerrar de modo que el jugador no pueda ver las posiciones de los diodos.
Por supuesto, los diodos deben colocarse en posiciones aleatorias.
Hasta más de 6 enchufes se pueden utilizar, haciendo más interesante el juego.
Algunos de ellos pueden quedar vacíos para hacer aún más difícil la obtención de la combinación correcta.
Los dos conjuntos de enchufes se pueden instalar en una caja, como se muestra en la figura 1.
Lógica
Es interesante notar que el juego, a pesar de ser un rompecabezas que involucra el principio de funcionamiento de los diodos, también tiene fundamentos en la lógica digital, eso para su resolución.
Si partimos del hecho de que se utilizan todas las tomas con diodos, y que los diodos tienen sólo dos estados de conducción, podemos asociar los valores digitales 0 al diodo sin conducir y 1 al diodo que conduce.
Así, la combinación correcta es aquella en que tenemos los diodos en las posiciones 111 y 111 para los dos conjuntos. Teniendo en cuenta que 111111 nos da el digital 63, está claro que el juego admite 64 combinaciones posibles: de 000 000 a 111 111.
Si el lector utiliza dos juegos de 4 tomas el número de combinaciones sube a 256. Los LEDs sólo se encender con 1111 y 1111. Usando 10 tomas el número crece a 1024!
Sin embargo, el juego es más sencillo porque trabajamos con dos LED.
Así, tenemos 8 combinaciones posibles sólo para cada LED.
Si el lector conoce la numeración binaria, puede fácilmente hacer las inversiones de manera programa y así obtener la solución con menos de 8 intentos para cada LED o un máximo de 16 para los dos LED.
Basta recordar que la secuencia natural de combinaciones posibles para los diodos es:
000
001
010
011
100
101
110
111
Considere esta numeración y proceda del siguiente modo:
a) asuma que la combinación inicial es 000
b) Invierta el primer 001
c) Desinvertir el primero e invierte el segundo 010
d) Invierta de nuevo el primer 011
e) Desinvertir los dos primeros e invertir el tercer 100
f) Invierta el primer 101
g) Desinvertir el primero e invierte el segundo 110
h) Invierta el primer 111
Con este procedimiento, independientemente del modo en que los diodos estén, el lector habrá probado todas las combinaciones posibles y en una de ellas el LED se encender.
D1 a D6 - 1N4148 o 1N4002 - diodos rectificadores o de uso general
LED1, LED2 - LEDs comunes (cualquier color)
R1, R2 - 470 ohms x 1/8 W - resistores - amarillo, violeta, marrón
P1 a P6 - enchufes comunes para la red de energía
X1 a X2 - Dos conjuntos de tres tomas comunes para la red de energía o tres tomas separadas
B1 - 6 V - 4 pilas pequeñas
Varios:
Caja para montaje, soporte de pilas, puentes de terminales, hilos, soldadura, etc.










