Dosar la intensidad de la corriente en una carga de 12 V para controlar su operación como intensidad de brillo (lámpara) o velocidad (motor).
El circuito se basa en el principio de operación del reóstato común con transistores de potencia.
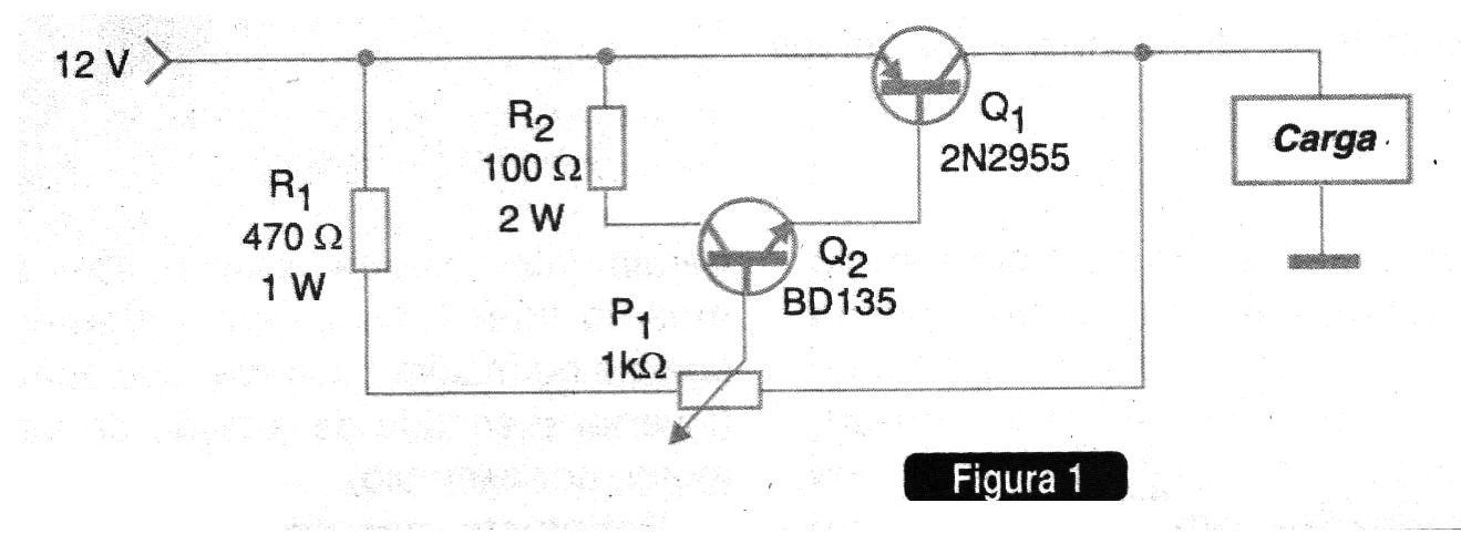
Puede controlar corrientes hasta 5 A con los componentes indicados.
El circuito completo se da en la figura 1.
Utilidades:
• Control de brillo de lámparas de paneles de máquinas o de automóviles
• Control de elementos de calefacción en invernaderos o de uso automotriz
• Control de velocidad de los motores DC
• Control de la fuerza de actuación de solenoides
• Control de motores de robots y brazos mecánicos y de automatismos diversos.
Detalles constructivos:
En la figura 2 mostramos una sugerencia de placa de circuito impreso.
El transistor de potencia Q1 debe montarse fuera de la placa en un buen radiador de calor, sobre todo si la carga controlada requiere una corriente superior a 3 A.
El potenciómetro P1 debe ser de hilo y las pistas de altas corrientes de la placa deben ser muy anchas.
Los hilos para la carga controlada y de entrada también deben tener espesores compatibles con la corriente conducida.
Para las corrientes más pequeñas se puede utilizar un transistor de menor potencia como el TIP42.
Para este transistor la corriente máxima controlada será del orden de 3 A.
Semiconductores:
Q1 - 2N2955 - transistores PNP de alta potencia
Q2 - BD135 - transistores NPN de media potencia
Resistores: (5%)
R1 - 470 ohms x 1 W
R2 - 100 ohms x 2 W
P1 - 1 k ohms - potenciómetro de hilo
Varios:
Radiador de calor para el transistor Q1, placa de circuito impreso, hilos, soldadura, etc.





