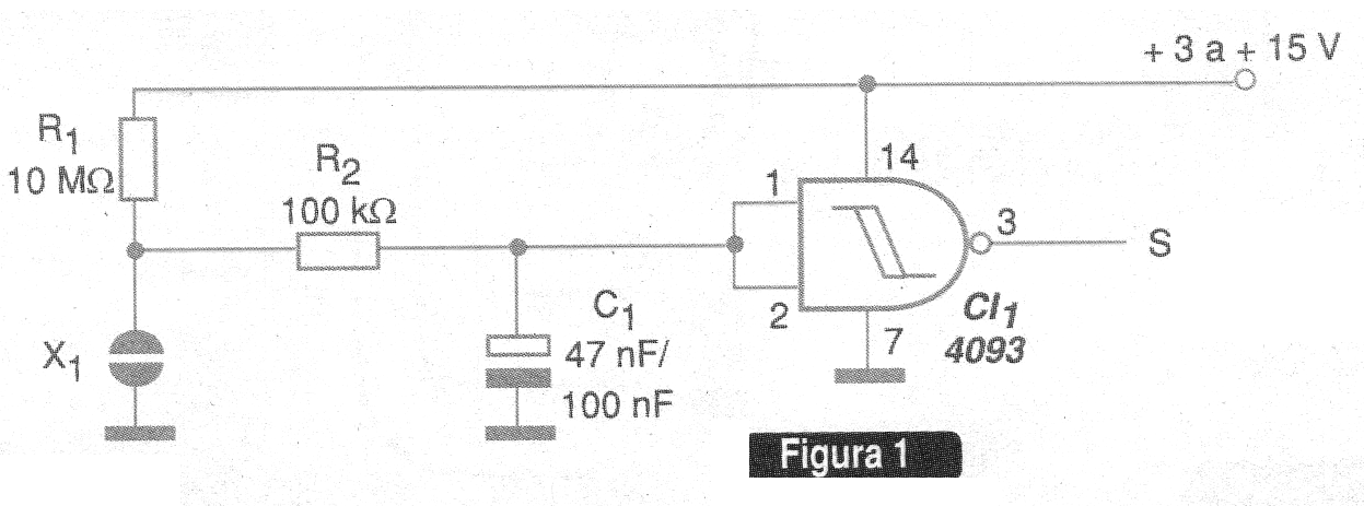
Con el circuito de la figura 1 obtenemos un nivel lógico alto en la salida cuando tocamos con los dedos en el sensor X1.
El circuito puede ser alimentado con tensiones de 3 a 15 V y su salida puede tanto excitar lógica CMOS como circuito de interfaz o shield con relés de potencia, solenoides e incluso interfaces de adquisición de datos.
Utilidades:
• Accionamiento de utilidades y automatismos a través del toque de los dedos.
• Accionamiento de cargas con sensores resistivos tales como detectores de nivel de agua, que pueden sustituir X1.
• Accionamiento por contacto con objetos conductivos en automatismos o sistemas de alarma.
Detalles constructivos:
El circuito utiliza sólo uno de los cuatro puertas NAND disparadoras disponibles en el circuito integrado 4093. Las demás puertas se pueden utilizar en llaves similares o con otros propósitos.
La placa de circuito impreso para una de las puertas se muestra en la figura 2.
El sensor puede ser formado por dos planchas de metal cercanas, las cuales deben ser tocadas al mismo tiempo. R1 determina la sensibilidad al tacto.
Con valores muy grandes se debe cuidar para que la suciedad o la humedad no causen el accionamiento aleatorio del circuito.
Los valores recomendados están en el rango de 100 k ohmios a 22 M ohmios. La fuente de alimentación para este circuito debe aislarse obligatoriamente de la red de energía.
El capacitor C1 determina la respuesta del circuito a ruidos debiendo su valor ser obtenido experimentalmente principalmente en función de la longitud del cable hasta el sensor.
Si este cable es mayor de 40 cm, se debe utilizar un cable blindado.
Semiconductor:
CI-1 - 4093 - circuito integrado CMOS
Resistores: (1/8 W, 5%)
R1 - 10 M ohms
R2 - 100 k ohms
Capacitor:
C1 - 47 nF a 100 nF - ver el texto - cerámico o poliéster
Varios:
X1 - Sensor - ver texto
Placa de circuito impreso, hilos, soldadura, etc.





