Por supuesto, el nombre de este proyecto es bastante exagerado. Lo que tenemos es una cajita que produce mil-y-un sonidos diferentes y que, ciertamente dejará perturbados a los padres de los niños que jueguen con ellas. El nombre correcto sería "caja de efectos de sonido" si el lector lo desea.
Describimos un interesante circuito que posee muchos botones y llaves, como a los niños les gusta, y que cuando accionados producen muchos tipos de sonidos diferentes.
Como juguete, sirve para distraer y probar la creatividad de los pequeños.
Alimentado por pilas, no presenta ningún riesgo de manipulación y fácil de montar, dado el uso de componentes comunes.
La base del circuito, como muestra la figura 1 es un 4017, contador con muchas salidas, de las cuales utilizamos sólo 5 en nuestro proyecto.

Este circuito es un contador secuencial que en nuestro proyecto será controlado por un 555 astable.
En este astable tenemos el primer control del circuito que es la velocidad de los efectos, a través del pote P1.
Usando 5 salidas del 4017 tenemos señales que se pueden ajustar a través de 5 potenciómetros, como se muestra en la figura 2.

Combinados, estas señales sirven para controlar y etapa final del circuito que consiste en un oscilador de audio con dos transistores, cuya configuración se muestra en la figura 3.

El potenciómetro P7 controla la frecuencia de este oscilador que se puede seleccionar en dos bandas, según los valores de C4 y C5.
Este oscilador alimenta directamente un pequeño altavoz.
También tenemos dos llaves que sirven para seleccionar capacitores de efecto y la salida directa del 555 para imitación de sonidos de sirena y otros.
Todo esto se alimenta con 4 pilas pequeñas, con un consumo relativamente bajo.
Montaje
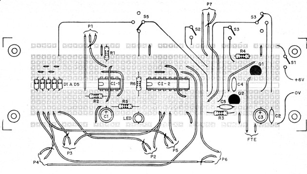
En la figura 4 tenemos entonces el diagrama completo del aparato.

El montaje se puede realizar en una matriz de contactos como se muestra en la figura 5.

Por supuesto, se puede utilizar una tarjeta universal con el mismo estándar, o el lector puede elaborar una placa específica para el proyecto.
En el montaje, observe las posiciones de los circuitos integrados y de los transistores.
Los resistores son de 1/8 W con cualquier tolerancia y los capacitores electrolíticos para 6 V o más.
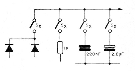
Las llaves rotativas de 1 polo x 3 posiciones no son muy comunes actualmente, pero el lector puede sustituirlas por interruptores simples con la configuración mostrada en la figura 6.

El conjunto se puede instalar en una caja de madera o plástico, como se muestra en la figura 7.

Si el aparato es manejado por niños pequeños es importante que la caja sea resistente, ya que seguramente llevará muchos tomos.
El altavoz de 4 ó 8 ohms debe ser pequeño, y los demás componentes deben seguir las especificaciones de la lista de materiales.
CI-1 - 555- circuito integrado
CI-2 - 4017 - circuito integrado
Q1 - BC548 - transistores NPN de uso general
Q2 - BC558 - transistores PNP de uso general
D1 a D5 - 1N4148 - diodos de uso general
LED - LED común de cualquier color
B1 - 6 V -4 pilas pequeñas
S1, S3 - Interruptores simples
S2 - Interruptor de presión NA
S4, S4 - Llaves de 1 polo x 3 posiciones - ver texto
FTE-4 o 8 ohms - altavoz pequeño
P1 a P7 - 100 k ohms - potenciómetros
R1 - 5k6 ohms - resistor - verde, azul, rojo
R2 - 4k7 ohms - resistor - amarillo, violeta, rojo
R3 - 10 k ohms - marrón, negro, naranja
R4, R5, R6 - 1 k ohms - resistores - marrón, negro, rojo
Varios:
Matriz de contactos o placa de circuito impreso, soporte de pilas, caja para montaje, botones plásticos (knobs) para los potenciómetros, hilos, soldadura, etc.



