El theremin es un instrumento musical en el que las notas musicales son seleccionadas por la distancia en que el músico pone sus manos en relación a una antena. El theremin que describimos en este artículo es bastante simple, pero sirve para demostrar cómo funciona el instrumento.
La capacitancia de la mano del músico influye en la frecuencia generada por un oscilador, determinando así la nota musical.
Con habilidad, alejando y acercando la mano y controlando la alimentación es posible hacer música.
En los theremins antiguos, usando válvulas, por ejemplo, existían diversos controles adicionales y los músicos realmente conseguían tocar piezas complejas.
El circuito que describimos es alimentado por pilas y el sonido se reproduce en un pequeño altavoz.
Vea ejemplo en: https://www.youtube.com/watch?v=9Sy00Dx274I
Como funciona
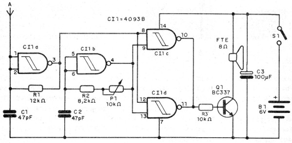
La base del instrumento es un circuito integrado que consiste en cuatro puertas NAND de funcionamiento independiente.
En nuestro proyecto, dos de las puertas funcionan como osciladores, siendo ajustadas para operar en la misma frecuencia.
Con este ajuste la combinación de las dos hace que el batimiento sea nulo, es decir, no hay señal de salida.
Este es el único ajuste del instrumento y también el más crítico.
Uno de los osciladores tiene una antena que actúa como sensor.
Cuando el músico aproxima su mano de esta antena, su capacitancia cambia la frecuencia de uno de los osciladores y con ello el batimiento deja de ser nulo, apareciendo una señal en la salida.
La variación de la frecuencia será tanto mayor cuanto mayor sea la alteración de la capacitancia dada por la distancia de las manos del músico.
La señal de salida se amplifica y se aplica a un pequeño altavoz.
Montaje
En la figura 1 tenemos el diagrama completo del theremin.

La placa de circuito impreso para su montaje se muestra en la figura 2.

El conjunto se puede instalar en una pequeña caja plástica, como se muestra en la figura 3.

En el montaje, observe la posición del circuito integrado y del transistor.
Los resistores son de 1/8 W con cualquier tolerancia y los demás componentes de acuerdo con la lista de materiales.
La antena puede ser de tipo telescópico o un pedazo de hilo sólido de 30 a 50 cm de longitud.
Para usar, ajuste P1 para cancelar el sonido del altavoz y aproxime la mano de la antena.
CI-1 - 4093 - circuito integrado
Q1 - BC327 o BC548 - transistores NPN de uso general
C1, C2 - 47pF - capacitor de cerámica
C3 - 100 uF x 12 V - capacitor electrolítico
FTE - 4 ó 8 ohms - Altavoz pequeño
S1 - Interruptor simple
B1 - 6 V - 4 pilas pequeñas
R1 - 12 k ohms - resistor - marrón, rojo, naranja
R2 - 8k2 ohms - resistor - gris, rojo, rojo
R3 - 10 k ohms -resistor - marrón, negro, naranja
A - Antena - ver el texto
Varios:
Placa de circuito impreso, soporte de pilas, caja para montaje, hilos, soldadura, etc.



