El Nervio-Test es un juego electrónico tradicional. El jugador debe pasar una argolla de metal por un alambre tortuoso, sin dejarla reposar en ese alambre. Si esto ocurre, el circuito dispara indicando una falta. Vence a quien pueda pasar la anilla hasta el final del alambre o aunque comete menos faltas.
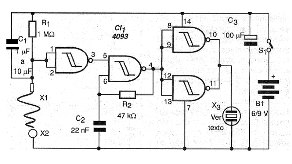
La versión de la figura 1 dispara por cierto intervalo de tiempo un oscilador, que emite un sonido, siempre que haya un toque de la argolla en el alambre.

El circuito es temporizado, lo que quiere decir que independientemente de cuán pequeño sea el tono, el sonido emitido siempre tiene la misma duración. Esta duración depende de C1 y de R1, componentes que pueden ser alterados por el ensamblador.
El transductor es del tipo cápsula piezoeléctrica de alta impedancia y la alimentación del circuito puede ser hecha por pilas o baterías comunes. El consumo es muy bajo, ya que ocurre prácticamente sólo cuando se produce el sonido.
En la figura 2 tenemos una sugerencia de placa de circuito impreso para el montaje del Nervo-Test.

La argolla y el alambre tortuosos se fabrican con trozos de hilo rígido rígido (16 o 18).
Prueba el aparato, apoyando por un instante la anilla en el alambre tortuoso. El aparato debe emitir sonido durante unos segundos. Si desea cambiar este tiempo, modifique el valor de C1.
Semiconductor:
CI-1 - 4093 - circuito integrado CMOS
Resistores: (1/8 W, 5%):
R1 - 1 M ohms - marrón, negro, verde
R2 - 47 k ohms - amarillo, violeta, naranja
Capacitores:
C1 - 1 uF a 10 uF x 16 V o más - electrolítico
C2 - 100 uF x 12 V - electrolítico
Varios:
X1, X2 - Arandela y alambre tortuoso - ver texto
X3 - Transductor piezoeléctrico - ver texto
S1 - Interruptor simple
B1 - 6 o 9 V - 4 pilas pequeñas o batería
Placa de circuito impreso, caja para montaje, soporte de pilas o conector de batería, hilos, soldadura, etc.



