Describimos un circuito que puede funcionar como un termómetro acústico o para demostrar la sensibilidad de los empalmes de los semiconductores a las variaciones de temperatura. Se trata de un proyecto didáctico-experimental simple de montar.
Los empalmes de los dispositivos semiconductores, como los diodos, hacen que estos dispositivos puedan ser usados como sensores de temperatura.
De hecho, en microprocesadores encontramos diodos que monitorea la temperatura del chip, activando el ventilador cuando se eleva y en muchas otras aplicaciones.
El circuito que describimos sirve para demostrar esta sensibilidad de las uniones, con la utilización de un diodo común como sensor.
En nuestro proyecto, un oscilador cambia de frecuencia de acuerdo con la temperatura del diodo sensor.
Como funciona
El sensor usado es un diodo común que al ser polarizado en sentido inverso tiene la corriente circulante determinada por la temperatura de su unión.
En la figura 1 mostramos el comportamiento de este dispositivo en un gráfico simple.

De esta forma, nuestro proyecto tiene el diodo sensor cuya corriente de fuga es amplificada por el transistor Q1 y aplicada en la base del primer transistor de un oscilador de audio.
En este oscilador, la frecuencia depende de R2 y C1.
El circuito puede ser alimentado por dos o cuatro pilas y su sonido se vuelve más agudo cuando la temperatura del sensor sube.
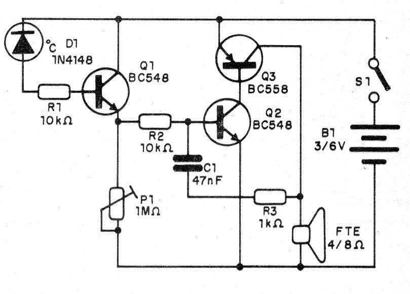
Montaje
En la figura 2 damos el diagrama completo del oscilador.
Como se trata de montaje muy simple, podemos utilizar un puente de terminales, como muestra la figura 3.
En el montaje, observe la posición de los transistores y principalmente la polaridad del diodo sensor.
El conjunto sensor se puede instalar en un tubo para un manejo más fácil, como se muestra en la figura 4.
Para probar el aparato, coloque inicialmente P1 en la posición de máxima resistencia.
Batiendo sobre el sensor el sonido emitido debe cambiar.
Podemos entonces ajustar P1 para que el circuito quede en el umbral de las oscilaciones.
Aproximando el sensor de cuerpos calentados (sin tocar) y esperando un poco notaremos cambio en la emisión de sonido.
Q1, Q2 - BC548 - transistores NPN de uso general
Q3 - BC558 - transistores PNP de uso general
D1 - 1N4148 o equivalente - cualquier diodo de uso general
FTE - 4 ó 8 ohms - altavoz pequeño
S1 - Interruptor simple
B1 - 3 o 6 V - 2 o 4 pilas pequeñas
P1 - 1M2 - trimpot
R1, R2 - 10 k ohms x 1/8 W - resistores - marrón, negro, naranja
R2 - 1 k ohms x 1/8 W - resistor - marrón, negro, rojo
C1 - 47 nF - capacitor de cerámica o poliéster
Varios:
Puente de terminales, soporte de pilas, hilos, soldadura, etc.






