Este circuito experimental parpadea una lámpara de neón en una frecuencia que puede ajustarse en una amplia gama de valores. Además de esta aplicación, las muñecas pueden causar pequeños choques, sirviendo como castigos para juegos y además en un pequeño electrificador.
Describimos el montaje de un oscilador de muy baja frecuencia, cuyos pulsos aplicados a un transformador hacen una lámpara neón.
El circuito puede ser utilizado en señalización y, como las muñecas son de alta tensión causando pequeños choques, puede ser utilizado como castigo en juegos, en un pequeño electrificador experimental o en experimentos de biología.
La alimentación se puede hacer con tensiones de 3 a 6 V y el montaje es muy simple.
Como funciona
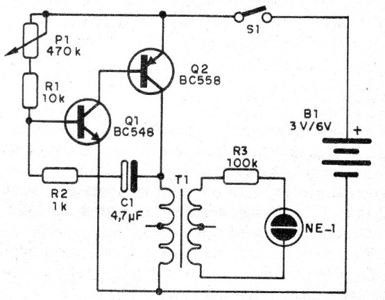
La base del circuito es un oscilador con dos transistores complementarios donde la frecuencia depende básicamente de C1 y del ajuste del potenciómetro.
La carga de este oscilador es el devanado de baja tensión de un pequeño transformador cuyo primario puede ser de 110 V, 220 V o para las dos tensiones.
Así, los pulsos generados por el oscilador de baja tensión se transforman en alta tensión, suficiente para encender una pequeña lámpara de neón y, en algunos casos sin la resistencia, una pequeña lámpara fluorescente hasta 15 W.
Los intermitentes no son intensos, pero perfectamente visibles, sirviendo para señalización.
Sostener en los hilos de la bobina de alta tensión del transformador es posible percibir choques.
Montaje
En la figura 1 tenemos el diagrama completo del indicador de neón.

Como se trata de montaje experimental no crítico, se puede realizar sobre la base de un puente de terminales con la disposición de componentes mostrada en la figura 2.
En el montaje observe las posiciones y tipos de los transistores además de la polaridad de las pilas.
El transformador puede ser de cualquier tipo con tensiones de secundario de 5 a 12 V y corriente de 100 mA a 300 mA.
Para usar, basta con conectar la alimentación y ajustar en el potenciómetro los intermitentes de la lámpara de neón.
Q1 - BC548 - transistores NPN de uso general
Q2 - BC558 - transistores PNP de uso general
NE-1 - lámpara de neón común
P1 - 470 k ohms - potenciómetro
T1 - Transformador - ver texto
B1 - 3 o 6 V - 2 o 4 pilas pequeñas
S1 - Interruptor simple
C1 - 4,7 uF x 12 V - capacitor electrolítico
R1 - 10 k ohms x 1/8 W - resistor - marrón, negro, naranja
R2 - 1 k ohms x 1/8 W - resistor - marrón, negro, rojo
R3 - 100 k ohms x 1/8 w - resistor - marrón, negro, amarillo
Varios:
Puente de terminales, soporte de pilas, hilos, soldadura, etc.




