Lo que diferencia a este circuito de aviso de falta de energía os que no posee fuente de alimentación, o sea, no usa pilas sino la propia red. Un capacitor de elevado valor se encarga de proporcionar la energía para el sistema de aviso sonoro por el tiempo deseado.
Existen equipos que no pueden quedar sin alimentación, o bien casos en que el corte momentáneo de energía exige providencias de diversos tipos de un operador externo. Para estos casos debemos usar un dispositivo que dé una serial de alerta en el momento exacto en quela energía se corta, pues puede no haber una serial evidente natural de que ha ocurrido esto (durante el día, por ejemplo).
El sencillo dispositivo que proponemos en este artículo es un aviso de corte de energía que emite un sonido continuo por algún tiempo (del orden de 2 a 3 minutos) de modo de alertar al operador externo que es necesario que tome alguna medida.
La principal característica de nuestro proyecto reside en el hecho que no usa pilas u otros dispositivos para proporcionar energía y si, en cambio, un capacitor de gran valor que se carga con la energía de la red y que posibilita el accionamiento sonoro por un intervalo de tiempo de algunos minutos.
La señal sonora emitida por un pequeño transductor piezoeléctrico es suficiente para hacerse oír en las proximidades.
En la condición de espera el consumo de energía del aparato es extremadamente bajo y puede Operar tanto en la red de 110 V como en la de 220 V.
Características
Tensión de alimentación: 110 V/220 V CA
Consumo: 0,1watt (típ.)
Tiempo de toque: 1 minuto a 3 minutos (depende de C2)
Cómo Funciona
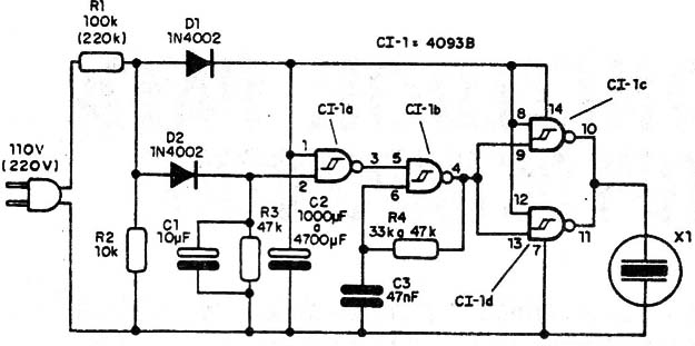
La tensión de la red pasa por un divisor formado por los resistores R1 y R2 de modo de obtener sobre R2 una tensión del orden de 10 V.
Estos 10 V sirven para cargar el capacitor C2 que funciona como reserva de energía. Vea que el alto valor de R1 hace que la carga completa del capacitor demore algunos minutos.
Tenemos después un circuito 4093 que está formado por 4 puertas disparadoras. La puerta CI-1b es conectada como un oscilador de audio cuya frecuencia es determinada por C3 y R4.
Este oscilador queda trabado cuando el nivel de tensión en la entrada de CI-1a es alto (10 V). Con este nivel, estando la otra entrada permanente en el nivel alto, la salida (pino 3) estará en el bajo y con esto no habrá habilitación para la oscilación.
Con el corte de energía en la red, la entrada y CI-1a (pino 2) va al nivel bajo y, así, su salida va al alto. El oscilador es entonces habilitado entrando en funcionamiento. La señal del oscilador del audio es llevada a las dos últimas puertas (CI-1c y CI-1d) que funcionan como "amplificadores digitales" o buffers que excitan directamente el transductor final, un transductor piezoeléctrico de buen rendimiento.
El circuito es alimentado por la carga de C2 y funciona en el intervalo en que la tensión cae de 10 V hasta aproximadamente 3V. El sonido disminuye gradualmente de intensidades hasta desaparecer (figura 1).

Para un capacitor de 2.200 µF obtenemos un intervalo de toque de aproximadamente 1 minuto y medio, lo que es suficiente para alertar a un operador que esté en las proximidades.
La elección del valor de C2 va a depender del tiempo que se desea que suene la alarma. C1 tiene por función aplicar una tensión continua en la puerta Cl-1a, pues sin él, tendríamos la conmutación del integrado a cada semiciclo de tensión alternada de la red.
Montaje
En la figura 2 tenemos el diagrama completo del indicador.

Su montaje puede hacerse en una pequeña placa de circuito impresa cuya disposición de componentes aparece en la figura 3.

Los resistores son todos de ¼ W o 1/8 W excepto R1 que recomendamos que sea de 1/2W. Los valores entre paréntesis son para la red de 220 V. Los electrolíticos deben tener una tensión de trabajo de 12 V o más y C3 puede ser tanto de poliéster como cerámico.
Los diodos son 1N4002 ó equivalentes de mayor tensión. Sugerimos la instalación del aparato en una caja plástica del tipo empleado para conversores AC/ DC (fuentes) que puede ser enchufada directamente en la toma de energía, como muestra la figura 4.

Prueba y Uso
Basta conectar el aparato en la red de alimentación y esperar cerca de un minuto para la carga del capacitor C2. Retirando el aparato de la red o cortando la energía, el buzzer (transductor X1) debe emitir un sonido continuo. Si quiere alterar la frecuencia del sonido basta modificar el valor de R4. Se pueden experimentar valores en una banda más amplia quela indicada, como por ejemplo entre 27 k y 100 k, recordando que los valores mayores producen sonidos más graves.
Verificado el funcionamiento sólo resta dejar el aparato conectado permanentemente a la red de alimentación.

Revisado 2017



