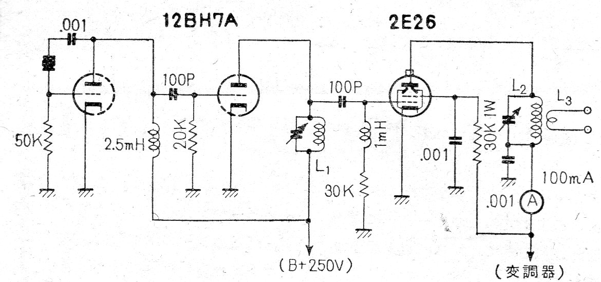
Este circuito fue encontrado en una publicación japonesa de los años 60. El circuito está destinado a la operación en onda continua (CW) en el rango de 21 MHz (15 metros) para radioaficionados. El circuito no incluye la fuente de alimentación y las bobinas deben ser de acuerdo con el rango de frecuencias generadas.




