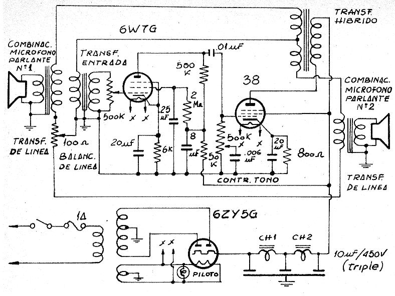
El interesante circuito que presentamos fue obtenido de una publicación de 1972, consistente en un intercomunicador con hilos que utiliza tres válvulas. Los componentes críticos, además de las válvulas son el transformador, ES, principalmente el transformador híbrido que funciona como un sistema de inversión de fases para las señales para que no ocurre microfonía.
El transformador de alimentación proporciona 150 + 15- V x 100 mA y además de un ajuste de balance de línea, el circuito cuenta con un control de tono. La distancia entre las estaciones puede llegar a algunas decenas de metros y se deben utilizar cables blindados.




