El circuito que presentamos fue hallado en una publicación de 1962.
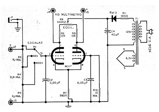
Constituye básicamente una etapa diferencial de altísima impedancia de entrada que permite usar un multímetro común como un voltímetro electrónico con una impedancia muy alta de entrada. El circuito tiene escalas de 4 V, 40 V y 400 V conmutada por una llave.
La precisión dependerá de las resistencias que forman el circuito divisor de entrada. La válvula es un doble triodo y, además de ella, el componente crítico del proyecto es el transformador, que sin embargo tiene sólo 15 mA de corriente en el devanado de alta tensión y de esta forma admite diversas soluciones paralelas como las sugeridas en otros artículos de esta sección. El potenciómetro sirve como ajuste de nulo, para poner a cero la escala del multímetro en ausencia de tensión de entrada.
En el caso de que se trate de un circuito valvular de altísima impedancia de entrada, es sensible a la captación de zumbidos.




