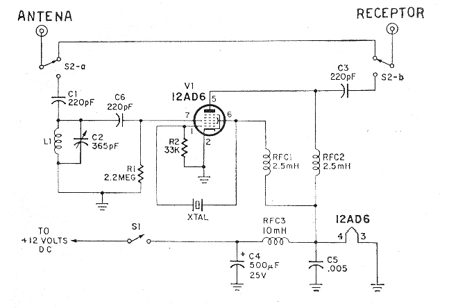
Con el circuito que presentamos es posible recibir señales de la banda de ondas cortas en el rango de ondas medias de un receptor AM común. El rango de frecuencias dependerá del cristal usado.
Por ejemplo, el circuito original encontrado en una documentación de 1970 fue elaborado para recibir señales del rango de 20 metros (15 MHz), utilizando para este propósito un cristal de 14,2 MHz. Se pueden recibir señales de otras bandas, con otros cristales y también con el cambio del circuito de sintonía.
El circuito no incluye la fuente de alimentación, que aún siendo de un circuito valvulado es de sólo 12 V, pues la válvula utilizada es de un tipo especial de baja tensión. De esta forma, la fuente no consiste en problema para este circuito, sino tan sólo la propia válvula.




