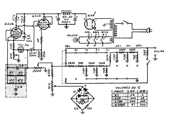
El circuito dado a continuación es un antiguo generador de audio comercial Heathkit AC-9, y evidentemente su montaje requiere el uso de componentes de precisión, Sirve, sin embargo, como referencia para eventuales recuperación o reparaciones.
El circuito es un oscilador de audio de baja frecuencia con salidas con atenuadores. Con dos válvulas, posee varias bandas de ajustes cuyos valores de los componentes se dan en la tabla que acompaña a este artículo.
El circuito cuenta además con un indicador analógico para la intensidad de la señal.
En la figura 1 tenemos el diagrama completo del generador.

En la tabla abajo las posiciones de los controles y los valores de R para diversas frecuencias.




