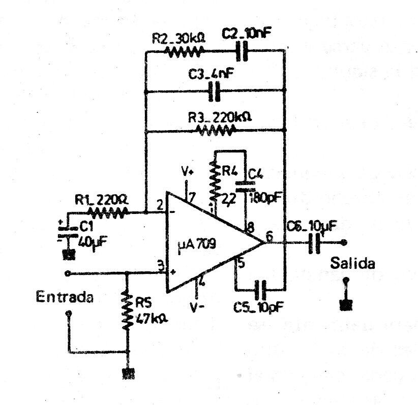
Este circuito es de documentación antigua, lo que significa que el operacional utilizada no es fácil de obtener. Sin embargo, podemos diseñar el circuito en función de un funcionamiento más moderno. La fuente de alimentación debe ser simétrica de acuerdo con el funcionamiento utilizado.




