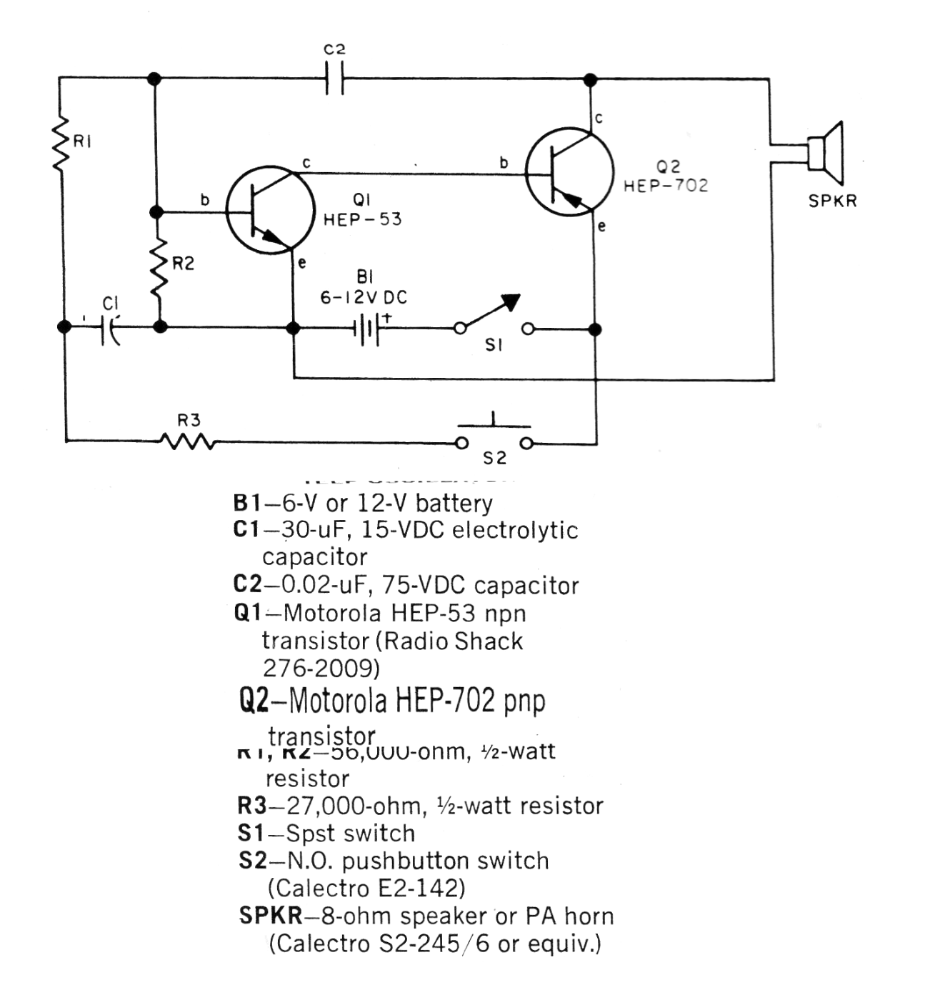
Este circuito se obtuvo en la publicación 101 Electronics Projects de 1979. El circuito se puede montar fácilmente, ya que todos los componentes son comunes. Este circuito es bastante tradicional generando una señal de audio creciente que da el efecto de sirena controlado por S2. El circuito puede utilizar el BC548 y BC558 y para más de 6 V el BD136 para Q2. La alimentación puede variar entre 3 y 12 V.




