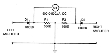
El control Balance se utiliza en equipos estereofónicos para ajustar la intensidad de las señales reproducidas en los dos canales de modo que sean iguales o que el oyente las perciba por igual según su posición frente a los altavoces. El control se usa con el mismo propósito cuando se escucha a través de auriculares. En la figura tenemos un circuito que indica el equilibrio o el equilibrio entre los dos canales de un sistema estéreo.




