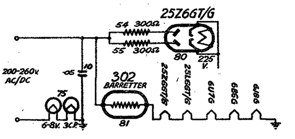
Tipo de rectificador que tiene como objetivo mantener una corriente constante en un circuito. El dispositivo está hecho como una válvula ordinaria, pero tiene un filamento de hierro y está lleno de gas hidrógeno. El filamento del dispositivo está conectado en serie con el circuito en el que la corriente debe mantenerse constante. En el circuito a continuación, el Barretter mantiene constante la corriente en los filamentos de la válvula en un viejo receptor de radio.




