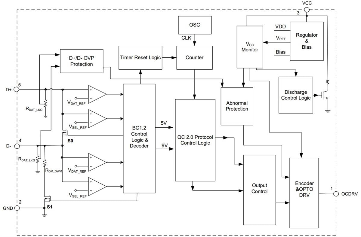
AP4373A Diodes Incorporated controlador de carga rápida
Fabricado por Diodes Incorporated y distribuido por Mouser Electronics, este controlador tiene un decodificador para el protocolo Qualcomm QC 2.0 que transfiere la señal a través de un acoplador óptico. El dispositivo es adecuado para aplicaciones en adaptadores de CA/CC y cargadores de batería.




