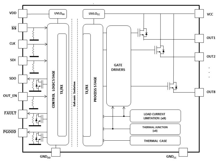
ISO8200AQ Controladores de 8 Canales Aislados Galvanicamente de la STMicroelectronics
Estos componentes de STMicroelectronics, disponibles a través de Mouser Electronics, tienen entrada y salida compatibles con TTL y CMOS y tensiones de 5 V y 3,3 V. La Rdson es de 0,11 ohms por canal.




